Армирование ростверка свайного: Армирование ростверка свайного фундамента: расчет
Армирование ростверка свайного фундамента: расчет
Ни один современный дом сейчас нельзя представить без фундамента. Именно фундамент собирает на себя все нагрузки от несущих конструкций, и передает их на грунты. Существуют разные типы фундаментов.
Монтаж опалубки для ленточного ростверка
В некоторых случаях уместно создавать ленточные монолитные фундаменты, в других же используют цельные монолитные конструкции. Мы же сейчас поговорим об особенностях свайного фундамента, а также ростверка на сваях и таком важном процессе, как армирование всех несущих конструкций фундамента.
Особенности и конструкция свайного фундамента
Свайный фундамент является одной из разновидностей несущих поддерживающих конструкций, на которые монтируют затем все остальное строение.
Так же, как и другие фундаменты, этот его тип проектируют и строят, используя СНИП и другую нормативную документацию. Однако чертеж, расчет и тип конкретных элементов буронабивного фундамента с ростверком будет немного отличаться от ленточного или цельного, так как и задачи у него немного другие.
В отличие от ленточных несущих конструкций, у свайных оснований несущими элементами и основными передатчиками напряжений являются непосредственно сваи.
Они отлично подходят для использования, когда необходимо монтировать дом на слабых грунтах. В таких случаях крупная подошва ленточных моделей фундаментных оснований слишком дорога, а вот создание точечных свай считается более уместным.
При конструировании такой конструкции используются сваи буронабивной, забивной и нескольких других технологий изготовления. Их расчет и нормирование регулирует подходящий СНИП.
Полная последовательность действий по созданию ленточного ростверкового фундамента
Без учета нормативной документации создавать такие важные элементы будущего строения запрещено, так как это может привести к довольно неприятным последствиям. Причем не имеет значения, какой тип конструкции вам предстоит строить, в любом случае СНИП будет приоритетным документом.
Помимо свайного основания из нескольких десятков элементов ни одна конструкция свайного фундамента не обойдется без ростверка.
Стоит понимать, что тип свайного фундамента предусматривает установку непосредственно свай на расстоянии примерно 2-4 метров друг от друга.
Читайте также: как происходит погружение металлических и железобетонных свай-оболочек?
Конкретное расстояние регулирует чертеж, СНИП, тип фундамента и еще несколько параметров. Но в любом случае оно будет достаточно внушительным.
Чтобы собрать всю эту конструкцию воедино и пользуются созданием ростверкового обвязывающего пояса или плиты. Причем не имеет значения, применяется ростверк для обвязки буронабивных или забивных свай. В любом случае его наличие просто необходимо.
Сам ростверк являет собой последовательную и довольно внушительную часть свайного фундамента, он может состоять из большого количества балок или монолитной плиты.
Именно на конструкцию ростверка ложится вся основная нагрузка от несущих конструкций дома, а он уже, в свою очередь, передает ее на сваи, которые давят на грунт и распределяют нагрузку по почве.
Для свайного фундамента характерно использование разных типов свай (буронабивных, забивных) и разных материалов. В данном случае мы рассматриваем только железобетонные сваи, как самые прочные, надежные и нуждающиеся в армировании.
Читайте также: технология армирования фундаментной плиты.
Армирование свай и непосредственно всего свайного фундамента – это совершенно необходимый процесс. Без армирования бетон хоть и выполняет свои функции, но не так хорошо.
Дело в том, что бетон сам по себе является довольно прочным материалом, однако любой СНИП, ГОСТ или результаты официальных исследований говорят о том, что при всей своей прочности он плохо работает на изгиб. А именно нагрузки на изгиб давят на конструкцию ростверкового свайного фундамента.
Заливка буронабивных свай монолитным раствором
Если не армировать все эти конструкции, то есть большой риск их разрушения или основательного повреждения. В таком случае весь дом придется признать аварийным, так как фундаментное основание – это едва ли не самая главная его часть.
Для осуществления качественного армирования используется конкретный расчет. Его же регулирует текущий чертеж конструкции, а также его тип и нормативная документация, что даст вам всю дополнительную информацию (СНИП, ГОСТ, справочники и т.д.).
Читайте также: особенности технологического процесса армирования разных типов фундаментов.
Для армирования используется сварные арматурные каркасы в виде сетки с определенным шагом. Конкретный тип металлической или стеклопластиковой арматуры, ее длина и все остальные параметры определяет расчет конструкции. Тип сечения армирования определяет то, как сварная сетка будет собираться.
к оглавлению ↑
Виды и отличия ростверковых фундаментов
Как мы уже упоминали выше, существует несколько разновидностей фундаментов ростверкового типа, а также конструкций ростверка и свай. Все они имеют довольно серьезное значение не только за счет особенностей своей конструкции, но и за счет того, как арматурная сварная сетка будет применяться для их армирования.
Совершенно очевидно, что ленточный ростверк по своей форме, габаритам и предназначению отличается от цельного. А значит и сварная сетка для армирования у них будет разной.
Фундаменты такого типа начинаются из свай. Сваи могут собирать и монтировать по:
- Буронабивной технологии;
- Забивной технологии.
Для буронабивной технологии обустройства характерно создание свай с мощной нижней подушкой. Формируют их по технологии погружения в грунт специальных инструментов и его вытеснения, а затем укладки арматурной сетки и бетонирования всей конструкции.
Арматура, выпущенная из забитых свай
У буронабивных свай есть преимущество за счет наличия подушки, возможности выбирать арматурную сетку по своему желанию и т.д.
Забивные сваи, как правило, уже готовы к применению, так как являются сборными железобетонными элементами. Их нижняя часть имеет заостренное или конусообразное сечение.
Выбор конкретной марки бетона и сечения таких элементов регулирует СНИП.
Забивные конструкции, как можно понять из названия, устанавливают в грунт путем забивки специальными вибропрессами или другим подобным оборудованием.
Для ростверка тоже характерно применение нескольких популярных разновидностей. От их типа зависит весь чертеж конструкции. Ростверк по типу сечения делят на:
- Ленточный;
- Цельный.
Ленточный ростверк во многом повторяет все принципы, что применяются при устройстве ленточного фундамента. Он обвязывает непосредственно сваи, не распространяясь на остальную площадь дома.
Впрочем, этого и не требуется. Ленточный ростверк монтируется под несущие стены дома. Обходится он дешевле, чем цельный, а по своей эффективности и надежности редко ему уступает. Сечение ленточного ростверка напоминает укрупненную балку, а значит и чертеж его армирования по сути ничем от аналогичного у балок не отличается.
Читайте также: как делается ручная вязка арматуры для фундамента?
Для цельного ростверка характерно покрывать всю площадь дома.
Такое решение используется реже, так как на создание цельной подушки приходится тратить намного больше времени и ресурсов. Не говоря уже о том, что далеко не всегда такие трудозатраты считаются оправданными.
Арматурная сетка цельного ростверкового фундамента
Чертеж и вся сварная сетка в таком случае будет практически идентичной сетке, что используется для армирования плит перекрытий, особенно тех, что являются монолитными и размещаются на колоннах.
к оглавлению ↑
Расчет армирования сетки ростверка
Теперь перейдем к самому важному моменту – расчету арматурной сетки (каркаса). Сварная сетка для ростверка будет отличаться в первую очередь в зависимости от его типа.
Читайте также: вязка арматурных прутьев с помощью крючка: преимущества, особенности технологического процесса.
Использование буронабивных, забивных или других типов свай будет иметь второстепенное значение, так как от свай в данном случае требуется только выпустить наружу связующие арматурные штыри, к которым сетку ростверка и присоединят.
Но не более того.
Расчет выполняется по чертежу конкретного типа ростверка. Так, линейный ростверк имеет форму крупной балки. Он обвязывает все сваи, образуя своеобразный пояс. По такой же схеме обвязывают колонны в несущих каркасных строениях.
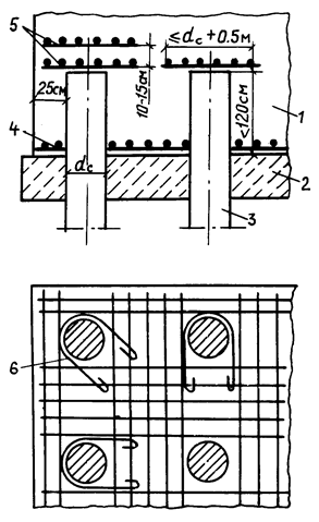
Нижняя часть сетки будет собираться из более толстой арматуры диаметром от 20 мм. Верхняя же будет иметь сечение 8-15 миллиметров .
Так как основные нагрузки на поверхностный изгиб будут давить на ленту ростверка только в местах контакта со сваями, то серьезное усиление следует делать на участках ленты под сваями.
Причем достаточно всего лишь растянуть арматуру на 1,5-2 метра от центра сваи по ленте в обе стороны. В остальных же местах делать столь мощные конструкции верхней сетки рекомендуется, но вовсе не обязательно.
Сварная сетка-каркас в таком случае рассчитывается довольно легко. В учет берут ширину ленты и ее высоту. Арматуру нижнего уровня укладывают с шагом в 8-10 см. Как правило, на нижнюю сетку одной из лент ростверка уходит не меньше 4 стержней.
На верхнюю может уходить от 6 стержней.
Пример обвязки арматурных выводов из отверстия под скважину
Этот расчет касается лент шириной в 25 сантиметров. Если лента намного шире, то и арматуры на нее придется потратить больше. Также верхняя и нижняя сетки обвязываются и крепятся друг к другу упорными хомутами из прочной арматуры. Это тоже следует учитывать.
Таким образом, обсчитав длину и ширину лент ростверка, а также создав чертеж его сетки, можно выполнить полноценный расчет армирования, узнать количество необходимого материала, его стоимость и кучу других полезных моментов.
Для цельного ростверка, так как он являет собой, по сути, укрупненную монолитную плиту перекрытия, сварная сетка уже будет немного другой. Во-первых, она будет покрывать всю площадь дома. Во вторых, он должна быть очень прочной и надежной.
Здесь с шагом в 20-25 см необходимо укладывать арматуру минимальным диаметром от 20-25 мм. Арматуру укладывают крест-накрест, чтобы создать чрезвычайно прочное основание.
А вот верхняя сетка имеет интересные особенности. Далеко не всегда ее следует монтировать по всей площади. Это объясняется тем, что нижняя сетка арматуры гасит практически все нагрузки.
Любая же верхняя сетка должна гасить нагрузки на изгиб, которые приходятся от взаимодействия несущих конструкций и верхних элементов здания. А это значит, что ее нужно устанавливать только возле несущих элементов, что будут размещаться сверху или несущих элементов, что ее подпирают.
В каркасных монолитных домах верхняя арматурная сетка перекрытий покрывает только площадки в 2×2 или 3×3 квадратных метра, с центром в каждой подпирающей колонне. Все остальные места либо снабжаются страховочной сеткой из тонкой арматуры, либо вообще остаются без нее.
Если выполнить расчет габаритов цельного ростверка, а также его полезной площади, можно точно так же узнать всю необходимую вам информацию.
к оглавлению ↑
Технология армирования ростверка
Описать саму технологию армирования довольно легко, так как она, по сути, практически идентична во всех случаях.
Готовый ростверковый фундамент для легкого дома
Этапы работы:
- Собираем опалубку, следим за ее прочностью и надежностью.
- Собираем нижний каркас арматурной сетки.
- Монтируем хомуты, поддерживающие стойки и другие элементы.
- Собираем верхний арматурный каркас в нужных местах.
- Обвязываем и закрепляем все части армирования проволокой и дополнительными хомутами.
- Заливаем конструкцию бетоном, следим за тем, чтобы бетон заполнял опалубку без образования пустот, идеальным будет применение вибропресса.
- Ждем в течение недели, пока бетон окончательно не схватится.
Стоит заметить, что железобетонная конструкция набирает свою прочность в течение 27 дней. Ходить по ней, однако, можно будет уже через 4-8 дней, но возведение последующих несущих конструкций рекомендуется отложить на месяц.
к оглавлению ↑
Особенности и нюансы армирования ростверка (видео)
Армирование ростверка свайного фундамента
Армирование свайно-ростверкового фундамента для частного дома и сам свайный фундамент используют при возведении постройки в нестандартных условиях.
Это может быть большое количество подземных вод, сильные перепады высоты, или слабый, не способный должным образом выдерживать давление постройки, грунт. Этот тип также используют при строительстве в зоне вечной мерзлоты. При таких условиях использовать монолитный или ленточный фундамент невозможно или слишком затратно.
На этапе проектирования, и далее на всем протяжении работ, для определения используемых материалов и технологии строительства, используются стандарты СНИП и ГОСТ.
Другие типы фундамента являются цельными, монолитными конструкциями и благодаря этому равномерное распределение веса постройки происходит без использования дополнительных приспособлений. Свайная конструкция же разделена на части, на каждую из которых производится разное давление, вследствие чего одни сваи могут проседать больше, чем другие, тем самым создавая угрозу целостности постройки. Для того чтобы объединить отдельные сваи в прочную и целостную конструкцию, вне зависимости от их типа, используют ростверковую плиту.
При таком устройстве фундамента, основное давление приходится именно на ростверк, который перераспределяет нагрузку и передает ее на сваи.
Проводится армирование свайно-ростверкового фундамента, затем плита формируется из бетона. Для частного дома армирование является обязательным элементом. Дело в том, что бетон сам по себе – очень прочный материал и отлично выдерживает нагрузки на сжатие. Но при растяжении или на изгибах, он имеет свойство трескаться и деформироваться, так как недостаточно пластичен. Для того чтобы это предотвратить, всю конструкцию укрепляют армирующим каркасом, состоящим из отдельных металлических прутьев. Пластичность металла придает фундаменту необходимые свойства и делает его более прочным и надежным.
Виды ростверка
Существует два основных типа ростверка:
- Ленточный ростверк, формируется также, как ленточный фундамент – узкая бетонная лента соединяет сваи между собой и не покрывает всю площадь дома. Для такого типа ростверка нужно намного меньше материалов, чем для монолитного, и он обойдется вам дешевле.
Ленточный фундамент формируется по периметру постройки, что обеспечивает надежность несущих стен. - Монолитный. Охватывает всю площадь дома. Для заливки монолитного фундамента необходимо очень большое количество бетона и арматуры, поэтому его используют не так часто, как ленточный. Однако в отдельных случаях такой выбор вполне оправдан.
Выбор арматуры
На нижнюю часть ростверка чаще всего приходятся наиболее сильные нагрузки, поэтому нижний слой армирующего каркаса собирается из толстых прутьев рифленого типа, их диаметр должен быть не менее 2см. Верхняя часть армирования свайно-ростверкового фундамента для частного дома в основном выполняет функцию перераспределения давления, поэтому для ее формирования достаточно арматуры толщиной до 1 см. Для выполнения армирующих работ используются различные типы арматуры:
- А1 – арматура, обладающая гладкой поверхностью и относительно небольшим диаметром.
Такие прутья могут быть использованы в местах каркаса, где не предвидится сильных нагрузок, а также для создания основы конструкции.
- А3 – арматура с неровной поверхностью. Это прутья с диаметром от 1 см. Они обладают повышенными прочностными характеристиками и диаметром от 1 см. Существует 2 основных вида рифленой арматуры: с кольцевидным профилем – для повышенного сцепления с бетоном и с серповидным профилем – для противодействия деформации растяжения. Также могут быть смешанные варианты, обладающие преимуществами обоих типов.
Для того, чтобы выполнить армирование свайно-ростверкового фундамента для частного дома, используются два типа соединения – сварка и вязка проволокой. Таким образом при выборе металлических прутьев обращайте внимание на то, каким образом они будут скрепляться с другими. Для сварки подходит только арматура с маркировкой «С».
Сварка неподходящей арматуры может привести к потере материалом прочности, эластичности и появлению повышенной склонности к коррозии, что негативно скажется на состоянии всего фундамента.
Схема армирования ростверка свайного фундамента
Выполняя армирование ростверка свайного фундамента, чертеж необходимо составить до начала строительных работ. При создании чертежа, следует учитывать то, что в местах, где ростверк соединяется со сваями, присутствуют повышенные нагрузки, такие места требуют дополнительного усиления, путем увеличения частоты укладки горизонтальной арматуры в 2 раза. Процесс укладки арматуры будет отличаться в зависимости от типа ростверка.
- Для ростверка ленточного типа создание чертежа армирования ростверка свайного фундамента осуществляется довольно легко. Для его выполнения следует учитывать ширину и высоту ленты. Стандартное расстояние между горизонтальными прутьями – 8-10 см. Они укладываются в два слоя – верхний и нижний, которые соединяются между собой более редкими вертикальными прутьями.
- Для монолитного ростверка используется армирование повышенной прочности. Для этого по всей площади дома, укладывается арматура диаметром от 20-25 мм.
Шаг укладки составляет от 10 до 15 см, в зависимости от типа постройки. Помимо стандартных вертикальных и горизонтальных элементов, в конструкции такого каркаса для дополнительно усиления присутствуют также уложенные крест-накрест прутья, предназначенные для того, чтобы максимально упрочнить армирование ростверка свайного фундамента.
Чертеж допускает наличие только нижнего слоя армирующего каркаса, так как именно он, как и в случае с ленточным ростверком, принимает все нагрузки на себя. Верхняя сетка часто отсутствует совсем или остается только в виде тонких дополнительных прутьев.
Для получения максимально точных расчетов нужно учитывать не только вес будущего строения, но также вес кровли, бетонных перекрытий и дополнительных нагрузок, которые проявятся в будущем. Мебель, оборудование, осадки и количество людей, которые будут находиться в здании одновременно.
Таким образом, выполняя армирование-ростверка свайного фундамента, чертеж дает вам всю необходимую информацию о количестве нужных для проведения работ материалов и типе арматуры.
Армирование свайно-ростверкового фундамента
Прутья, выпущенные из свай, используются для соединения армирующего ростверка каркаса и свайной конструкции. Все элементы скрепляются между собой путем сварки. При формировании каркаса следует четко следовать составленному чертежу ростверка свайного фундамента и следить за соответствием стандартам. Арматура укладывается в два слоя, которые должны быть скреплены между собой, вертикальными стержнями. Они могут быть не слишком толстыми и иметь гладкую поверхность, так как практически не подвергаются нагрузке и предназначены исключительно для создания основы и формы каркаса.
Армирование-свайно-ростверкового фундамента для частного дома происходит в несколько этапов:
- Обустройство траншей между сваями. В эти траншеи следует последовательно засыпать и утрамбовать песок и мелкофракционный щебень. Это делается для того, чтобы давление ростверка в дальнейшем передавалось не прямо на грунт, а на поддерживающую подушку.

Сборка опалубки. Внимательно проследите за тем, чтобы на поверхности опалубки не было никаких трещин или щелей, это приведет к вытеканию раствора.
Армирование нижней части свайно-ростверкового фундамента для частного дома. Эта часть должна быть особенно прочной, так как именной на низ ростверка приходятся основные нагрузки.
Монтаж вертикальных прутьев и дополнительных поддерживающих элементов.
Сборка верхней части каркаса.
Скрепление всех отдельных частей каркаса проволокой и при необходимости сваркой.
Заливка конструкции бетоном.
Заливка бетоном
После завершения формирования арматурного каркаса, можно приступать к заливке плиты бетоном. Бетон, при формировании бетонной основы ростверка, должен быть использован марки не меньше, чем М250 или М300. Такой бетон обладает достаточной прочностью и используется для заливки фундаментов, лестниц, колонн и других конструкций, от которых требуется максимальная надежность.
Рассчитывать необходимое количество бетонной смеси для проведения строительных работ нужно учитывая процент усадки бетона после застывания.
Выполняя армирование свайно-ростверкового фундамента для частного дома, крайне важно выполнить все расчеты с максимальной точностью. Нехватка необходимых для продолжения работ материалов может привести к прерыванию строительного процесса. Впоследствии это негативно скажется на прочностных характеристиках фундамента, так как неравномерно застывший бетон склонен к появлению трещин и деформации. В свою очередь лишний бетон – это выброшенные впустую деньги.
Бетон набирает необходимую прочность по истечению 28 дней, но ходить по нему можно уже через неделю. Стоит заметить, что через месяц после заливки бетон резко теряет скорость застывания, однако постепенно делается все прочнее на протяжении многих лет.
Основные ошибки
Для того, чтобы ростверк был максимально устойчивым к воздействию любых негативных факторов и исправно выполнял свои функции, при проведении работ следует строго придерживаться технологии, указанной в стандартах.
Также следует избегать часто совершаемых ошибок:
Не целостная структура опалубки.
Сварка непригодной для этого арматуры или арматура слишком маленького диаметра.
Утечка бетонного молочка из-за отсутствия полиэтиленового покрытия залитой конструкции.
Неверное армирование ростверка свайного фундамента, чертеж выполнен без необходимых расчетов.
Слишком большое расстояние между горизонтальными прутьями.
Отсутствие гасящей давление на грунт подушки между сваями.
Ленточный фундамент – обычный, или на сваях?
Уже на протяжении нескольких столетий, на болотистых и пучинистых почвах, где особенно высока вероятность подтопления, для постройки зданий используется свайный фундамент с ростверком. Свайно-ростверковый фундамент является наиболее универсальным и, в тоже время, относительно не сложным в установке.
При этом оно полностью удовлетворяет современным технологическим нормам СНиП и способно выдерживать большие нагрузки.
Расчет свайного фундамента с ростверком
Для проведения расчетов такого плана следует обращаться к специалистам, специализирующихся в этом профиле. Перед этим проводятся геологические изыскания, позволяющие разработать проект, соответствующий почве на стройплощадке.
Совет эксперта! Если работы по геодезическому изысканию проведены не будут, то произвести точные расчеты основания с ростверком будет невозможно. Объясняется это тем, что несущая способность определяется только на основании силы сопротивления почвы.
Рис: Схема свайно-ростверкового фундамента
Для проведения изысканий на участке бурится отверстие в почве для ее пробы и анализа. Только потом можно проводить важные расчеты.
При разработке проекта учитываются такие параметры по сваям:
- Глубина погружения.
- Диаметр сваи.
- Количество свай.

- Схема их расположения.
По ростверку:
- Форма ростверка (3 вида: высокий, повышенный, низкий).
- Диаметр.
- Устойчивость на изгиб и продавливание.
- Метод армирования.
Рис: Схематическое положения ростверка свайного фундамента
Совет эксперта! Определить высоту ростверка следует исходя из веса будущего сооружения и уровня пучинистости грунта.
Об армировании ростверка свайного фундамента
В сфере индивидуального строительства при использовании свайного основания монолитный железобетонный ростверк является наиболее популярным вариантом, поскольку даже при значительных размерах его всегда можно изготовить своими силами.
Используемые для этого материалы могут быть доставлены на стройплощадку обычным грузовым или даже легковым транспортом без применения специальных платформ или подъемных кранов.
Однако, работы по монтажу монолитного ростверка являются более сложными, чем сборного, и главная трудность заключается в правильном армировании свайного ростверка.
Как работает ростверк
Часто можно слышать о схожести устройства ростверка и обычного ленточного фундамента, но такое утверждение верно лишь отчасти. Действительно, своим видом и функцией ростверк весьма похож на ленточное основание, однако условия работы этих конструкций значительно отличаются:
- если для ленточного фундамента возникновение изгибающего момента в вертикальной плоскости — скорее, явление из ряда вон выходящее, то для ростверков, представляющих собой уложенные на сваи балки, это – норма. Находящийся между опорами пролет воспринимает вес частей здания и другие нагрузки, будучи при этом как бы подвешенным в воздухе, что и обуславливает прогиб;
- еще одно отличие состоит в том, что приходящаяся на ленточный фундамент нагрузка является менее предсказуемой. Подстилающий грунт под различными участками основания может «поплыть» либо вспучиться. Это вызывает разнонаправленные прогибы, при которых растянутой может быть как верхняя, так и нижняя часть поперечного сечения.
А растянутая зона, имеющая место при прогибе железобетонного элемента, — это, как известно, именно та зона, в которой должна располагаться арматура. Таким образом, обычный ленточный фундамент приходится армировать одинаково как в верхней части, так и в нижней.
В случае с ростверком воздействие со стороны грунта полностью исключается, поэтому возникающие в нем напряжения вполне прогнозируемы: в пролетах между сваями растянутой всегда оказывается нижняя часть поперечного сечения, в зонах опирания на сваи – верхняя.
Этим определяется и схема армирования ростверка свайного фундамента. Нижний пояс арматурного каркаса на участках между сваями делается более мощным, а в точках опирания на сваи усиливают верхний пояс.
Выбор материалов арматурного каркаса и определение его параметров
Диаметр используемой арматуры и параметры каркаса подбираются на основании расчета, учитывающего постоянные и временные нагрузки.
Расчет армирования ростверка свайного фундамента должен выполняться опытным строительным инженером, хорошо владеющим темой железобетонных конструкций.
Особенности основания на сваях с ростверком
Такой фундамент представляет собой систему вертикально установленных длинномерных опор, оголовки которых в наземной части обвязаны кольцевой балкой.
На заметку Нельзя сказать, что железобетонный ростверк на сваях возводится быстрее, чем обычная лента, ведь в обоих случаях нужно собирать опалубку. В течение трех суток фундамент набирает до 60% своей прочности, а на достижение показателя в 100% уходит до 28 дней.
Смысл такого фундамента заключается в том, что сваи, проходя сквозь неустойчивые слои грунта, зацепляются за более прочные. Глубина их залегания неодинакова даже в радиусе пары метров –оголовки выступают на разную высоту. Чтобы сформировать обвязку опор, их приходится подрезать в один уровень.
1.1 ростверк на опорах: за и против
Существует ряд неоспоримых преимуществ, которыми обладает ростверковый фундамент.
Минусов свайный фундамент с ростверком почти не имеет. В их числе необходимость использования спецтехники, что ограничивает её применение на уже застроенных участках.
На таком фундаменте нельзя построить подвал, хотя в условиях вечной мерзлоты или высокой влажности грунта такое мало кому придёт в голову.
Смотрите также: Заливка плиты 10х10 цена
1.2 На каком уровне закладывать фундамент
Среднее расстояние от ростверка до земли 30-40 см, но в зависимости от условий строительства эта цифра может как увеличиваться, так и иметь отрицательное значение. При проектировании ростверка свайного фундамента принимают во внимание климатические условия и качество грунта на участке.
Смотрите также: Фундамент для дома 10х10 – цена
Существует три варианта расположения ростверка. Чтобы увидеть их все – переключайте вкладки.
Ленточный ростверк на свайном фундаменте представляет собой комбинацию двух видов опор, которые дополняют друг друга.
Смотрите также: Стоимость фундамента 9х9
Что такое ростверк и какая его роль в фундаменте?
Существует три основных типа фундамента: ленточный, свайный и плиточный. На практике применяется еще несколько разновидностей и модификаций этих технологий и ростверк одна из них. Эта монолитная железобетонная конструкция похожа на ленточный фундамент, но устанавливается поверх сваи (набивной или буронабивной). Важным технологическим моментом является армирование сваи, которое должно выходить за точку опоры с ростверкос на 30-40 см (для максимальной привязки).
Другими словами, ростверк – это ленточный фундамент, опирающийся на сваи. Поверх ростверка возводятся сразу стены с применением утеплителей и усадочных материалов. Ключевым моментом установки ростверка является армирование, от которого будет зависеть успех всей компании.
Дело в том, что на фундамент воздействуют силы (давление стен сверху, пучение и подмыв снизу), которые зачастую направлены в разные стороны.
Каждому школьнику известно, что бетон работает на сжатие, а прогибы и деформации для него разрушительные. Поэтому правильная арматура для фундамента и технологически верная обвязка дают возможность ростверку воспринимать нагрузки с разных сторон.
Как правильно армировать ростверк
Чтобы армирование ростверка было не просто для галочки, а строго выполняло свою функцию, необходимо понимать следующее. По всей линии свайно-ленточного фундамента на него действуют силы в двух направления:
- Снизу вверх. Участки, опирающиеся на сваи.
- Сверху вниз (прогиб). Стена весом давит на ростверк, создавая усилия на прогиб.
Очевидно, что армирование ростверка при таких раскладах выполняется двумя методами:
- В местах пролета нижний пояс армирования должен быть усиленным, так как нижняя часть будет воспринимать всю нагрузку. Для этого используется арматура А3 (рельефная горячекатаная) диаметром от 13 до 16 мм.
- В местах опор на сваю усиленным делается верхний пояс, чтобы выдерживать давление, направленное снизу.

Каркас изготавливается из продольно и поперечно направленных прутьев. Вертикальные скобы, хомуты и поперечные участки можно вязать из арматуры диаметром 6-8 мм, даже с гладким сечением (все зависит от конструктивных особенностей здания).
Выдержки из требований по СНИП
При укладке арматуры для ростверка необходимо придерживать следующих требований:
- Прутья одного ряда должны находиться на расстоянии друг от друга не меньше чем 3 см.
- Расстояние между двумя продольными направлениями должно быть не больше 40 см. Допускается брать расстояние в 2 толщины стены над ним (максимум).
- Если диаметр сваи больше 15 см, то в нижнем продольном ряду используется минимум 2 прута армирования.
- Нельзя делать в ростверке закладные отверстия, больше ширина сваи (балки) на 1/3.
Технология армирования ростверка
Вязка арматуры каркаса необходима для создания правильной геометрии конструкции и для временного закрепления в пространстве.
Существует 3 основных метода:
- Муфтовое. Самый надежный и 100% метод для создания неразрывного кольца в свайно-ленточном фундаменте. Муфта стоит больших денег, а поэтому у застройщиков, а тем более, в небольшом домашнем домостроении они не востребованы.
- Сварка. Сварка обеспечивает быстрый результат, но не всегда подходит под условия бетонирования (повышает коррозию, нагревает прут). По правилам варить каркас армирования можно только из прутьев диаметром больше 25 см. Такие массивные фундаменты применяются крайне редко, а поэтому метод неактуален.
- Скрутка. Чаще всего в частном домостроении и профессиональные застройщики используют проволочные скрутки. Это самый простой и эффективный метод, позволяющий вязать армировку в каркас с правильной геометрией и хорошей устойчивостью.
На практике применяют несколько способов ручной вязки, но самый проверенный и продуктивный – это использование специальных вязальных крючков. Существуют также автоматические инструменты, типа вязальный пистолет или жало с шуруповертом, но в реальных условиях такой подход не дает выгоды.
Узел сопряжения сваи с ростверком
Сваи сопрягаются с ленточным ростверком жёстким образом. Для этого оголовой сваи после забивки разбивается отбойным молотком таким образом, что бы оставшаяся бетонная часть была замоноличена в ростверк не менее, чем на 50мм, а длина освобожденных арматурных выпусков осталась не менее 50 диаметров этих выпусков.
Узел сопряжения оголовка сваи с ленточным ростверком.
В данном примере длина выпусков 600мм для арматуры диаметром 12мм. В том случае, если высота ростверка не позволяет полностью замонолитить выпуски, их загибают в тело ростверка перед его заливкой.
Для определения конструктива узла сопряжения с винтовыми сваями лучше всего запросить рекомендации от изготовителя свай. Обычно такой узел выполняется путем приварки арматурных анкеров к металлическому оголовку сваи. Анкера желательно выполнить немного большим диаметром, чем каркасы. Длина анкера – всё те же 50 диаметров. В некоторых случаях оголовок сваи полый, при таком варианте его заполняют арматурными анкерами и бетоном, затем анкера загибают в тело ростверка перед его заливкой.
Кроме того, на винтовые сваи иногда выполняется свободной опирание, поэтому обязательно нужно запросить рекомендации производителя таких свай.
Схема армирования ростверка свайного фундамента
Выполняя армирование ростверка свайного фундамента, чертеж необходимо составить до начала строительных работ. При создании чертежа, следует учитывать то, что в местах, где ростверк соединяется со сваями, присутствуют повышенные нагрузки, такие места требуют дополнительного усиления, путем увеличения частоты укладки горизонтальной арматуры в 2 раза. Процесс укладки арматуры будет отличаться в зависимости от типа ростверка.
- Для ростверка ленточного типа создание чертежа армирования ростверка свайного фундамента осуществляется довольно легко. Для его выполнения следует учитывать ширину и высоту ленты. Стандартное расстояние между горизонтальными прутьями – 8-10 см. Они укладываются в два слоя – верхний и нижний, которые соединяются между собой более редкими вертикальными прутьями.

- Для монолитного ростверка используется армирование повышенной прочности. Для этого по всей площади дома, укладывается арматура диаметром от 20-25 мм. Шаг укладки составляет от 10 до 15 см, в зависимости от типа постройки. Помимо стандартных вертикальных и горизонтальных элементов, в конструкции такого каркаса для дополнительно усиления присутствуют также уложенные крест-накрест прутья, предназначенные для того, чтобы максимально упрочнить армирование ростверка свайного фундамента.
Чертеж допускает наличие только нижнего слоя армирующего каркаса, так как именно он, как и в случае с ленточным ростверком, принимает все нагрузки на себя. Верхняя сетка часто отсутствует совсем или остается только в виде тонких дополнительных прутьев.
Для получения максимально точных расчетов нужно учитывать не только вес будущего строения, но также вес кровли, бетонных перекрытий и дополнительных нагрузок, которые проявятся в будущем. Мебель, оборудование, осадки и количество людей, которые будут находиться в здании одновременно.
Таким образом, выполняя армирование-ростверка свайного фундамента, чертеж дает вам всю необходимую информацию о количестве нужных для проведения работ материалов и типе арматуры.
Свайно-винтовой фундамент
Винтовое основание сооружается из специальных труб круглого сечения с лопастями, которые могут быть расположены в один или несколько рядов. В большинстве случаев внутренняя полость свай после погружения заливается бетоном, что позволяет существенно повысить несущую способность будущего фундамента.
Рисунок 4. Способы обвязки свайно-винтового основания
Особенности
Свайно-ленточный фундамент обладает множеством преимуществ, но основным из них является возможность самостоятельного погружения свай. Благодаря наличию лопастей на стальных трубах их погружения можно выполнить силами 2-х человек. Реже для вкручивания привлекают спецтехнику или используют специальное оборудование.
Другие особенности:
com/embed/Yly3V4m_biQ» frameborder=»0″ allow=»accelerometer; autoplay; clipboard-write; encrypted-media; gyroscope; picture-in-picture» allowfullscreen=»»/>- Минимальные сроки установки свайно-винтового поля – даже при ручном погружении работа занимает не более 2-х дней (в зависимости от размеров будущего строения).
- Возможность продолжения строительства уже на следующий день после вкручивания свай – при условии, что для обвязки будет использоваться деревянные или металлические балки.
- Приспособляемость к неравномерным нагрузкам – например, когда к вертикальному давлению от веса дома прибавляются еще и горизонтальные нагрузки. Стальные сваи с лопастями способны немного отклоняться от вертикальной оси – на несколько градусов, но этого вполне достаточно для более-менее равномерного распределения нагрузок по всем опорам.
Рисунок 5. Конструкция свайно-винтового основания
Устройство
Последовательность действий при сооружении свайно-винтового фундамента:
Пошаговая инструкция по устройству свайного фундамента своими руками в следующих видеоматериалах:
Ошибки при армировании и как их избежать
Существует ряд ошибок, связанных с армированием, которые допускают неопытные строители в целях экономии или просто по незнанию строительных норм и правил.
Ниже приведены самые часто повторяющиеся из них.
- Уменьшение диаметра буронабивной сваи, по мнению некоторых строителей, должно сопровождаться уменьшением количества вертикальных стержней арматуры, к которым впоследствии должен крепиться каркас ростверка. Уменьшение припуска вертикальных стержней.
- Армирование угловых участков перекрещиванием прямых прутьев арматуры. Так поступают многие, чтобы не усложнять вязку каркаса.
- Несоблюдение шага установки перемычек при армировании ростверка. Пропуск необходимых соединений. Подобное часто происходит в целях экономии.
- Отклонение арматурного каркаса от центральной оси. Это приведёт к неравномерной несущей способности вещи часто случаются из-за банальной халатности. Все тонкости армирования свайного фундамента, смотрите в этом видео:
Решения вышеперечисленных ошибок приведены ниже.
- Диаметр сваи не должен быть менее 300 мм, а количество вертикальных стержней ниже 4, припуск арматуры под ростверк должен быть не менее 0,5 м.

- Для правильного соединения узлов балок следует изготовить гнутые П- и Г-образные детали, которыми требуется соединять угловые элементы.
- При устройстве арматурного каркаса должен соблюдаться шаг от 200 до 400 мм между перемычками. Точный размер шага определяется на стадии проектирования.
- Требуется производить все измерения с использование строительных уровней, чтобы каркас был выставлен относительно центральной оси.
Армирование – это значимая часть процесса строительства. Важно всё и качество материалов, и опыт строителей, и наличие рабочей документации.
Несоблюдение правил армирования может привести к самым серьёзным последствиям. Этот этап строительства один из самых ответственных.
При производстве строительных работ любая ошибка приводит к уменьшению срока эксплуатации здания без необходимости ремонта. Это в лучшем случае. В худшем, ещё на стадии возведения здания оно подвергается перестройке.
Для достижения максимальных сроков эксплуатации требуется соблюдать строительные нормы и правила, не допуская отклонений от проекта.
Строительство объединяет в себе комплекс мероприятий, которые необходимо соблюсти для достижения желаемого результата. По возможности лучше доверить такую работу профессионалам.
Достаточно часто строящийся дом возводят на свайном типе фундамента, в этом случае приобретает актуальность армирование ростверка свайного типа фундамента.
Тип свайного фундамента просто необходим в том случае, когда строительные работы ведутся на слабых и пучинистых грунтах, на строительной площадке наблюдаются большие перепады высоты почвы или есть грунтовые воды.
Кроме этого, свайный фундамент является единственным решением, если возведение дома запланировано в районах вечной мерзлоты, а также во многих других случаях.
Вообще, для этих целей используются сваи, различающиеся между собой как по способу погружения в грунт, так и по используемому для их изготовления материалу.
Объединяет их то, что в единую цельную и прочную конструкцию их связывает именно ростверк.
В свою очередь, для придания прочности самому ростверку следует обязательно провести его армирование, предварительно сделав чертеж и произведя расчет всех предполагаемых нагрузок при последующей эксплуатации частного дома.
Особенности армирования столбчатого фундамента
- Нормой для ростверков является наличие так называемого изгибающего момента в вертикальной плоскости. Ведь он представляет собой уложенные на сваи балки. В то же самое время пролет, который располагается между опорами, восприимчив к весу различных частей здания, а также к другим нагрузкам. Он как бы расположен в подвешенном состоянии в воздухе. По этой причине и появляется прогиб;
- Ростверк полностью исключает всякое воздействие со стороны грунта. Поэтому можно довольно просто спрогнозировать возникновение в нем напряжения. К примеру, нижняя часть поперечного сечения во всех случаях оказывается растянутой в пролетах, находящихся между сваями. Верхняя же – в зонах, где конструкция опирается на сваи.
Эти особенности ростверка имеют определяющее значение в процессе составления схемы армирования ростверка свайного фундамента. Неудивительно, что большое внимание уделяется повышению мощности нижнего пояса устанавливаемого арматурного каркаса в участках между сваями.
В то же самое время, важным остается усиление верхнего пояса в точках опоры.
Также следует помнить, что перед тем, как приступить к монтажу ростверка и его армированию, необходимо грамотно и четко определить требуемый тип свайного фундамента и общее количество необходимых свай.
Их должно быть минимум 4 из того расчета, что в случае каждого угла будет устраиваться собственная свая. Именно на такой фундамент свайного типа в последующем будет выполняться укладка ростверка. Причем он может иметь форму сплошной плиты либо может быть ленточного типа.
Схема ленточно свайного фундамента
Ключевая проблема, какая возникает при расчете и строительстве фундамента – это неправильный выбор сечения самого ростверка. Нужно всегда учитывать наличие воздушной подушки под плоскостью ростверка, вариант как на рисунке категорически запрещается делать.
Также некоторые проектировщики, особенно без опыта, могут в схеме совместить элементы плитной и ленточной конструкции.
Если зимой возникнет вспучивание почвы, тогда лента фундамента поднимется, а плиты не будут давать это сделать. В результате случится разрыв свай и быстрое разрушение основания.
Если нужно сделать расчет поперечного сечения ростверка и размера свай, тогда нужно сначала разработать проект дома со спецификациями несущих стен и перекрытий. За счет этих данных проводится расчет допустимых нагрузок на будущее основание, подбирается тип заводский свайных элементов и уже затем подбирается толщина плиты ростверка.
В некоторых случаях уклон площадки слишком большой. В таких случаях использовать сваи очень большой длины не рекомендуется, ведь возможно возникновение горизонтальных разрывов даже посередине сваи. В таких случаях строят ступенчатый фундамент. В такой конструкции предусмотрено углубление опорных стержней на глубину до 25 см, а опора вводится на 5-7 см.
при выборе ступеней также определяются сразу с толщиной кладки стены, а также места расположения опор. Тут нужно помнить, что края ступеней не должны опираться на опоры.
Поэтому сваи устанавливаются полностью в свободном порядке. Арматура устанавливается на одной плоскости со зданием, также расположение ее должно быть в самих ступенях, а соединение гибкое без элементов сварки.
Повышение крепости и надежности фундамента достигается его армированием. Бетон выдерживает большие нагрузки на сжатие. Изгибные или растягивающие усилия даже небольшие, разрывают его.
На столб фундамента действуют такие нагрузки:
- на сжатие – вес здания;
- на разрыв – зимой пучение грунта сжимает стенки столба и отрывает его вверх от подошвы;
- на излом/сдвиг, зимой – горизонтальные подвижки грунта при замерзании или летом – сдвиг плотного слоя по водонасыщенному или слабому грунту.
Для нагрузок на сжатие не армируют, а воздействие от пучения грунта полностью устраняют, обернув столб тремя слоями полиэтилена или рубероида. Сдвиговая нагрузка возможна редко, но защищают от нее армированием.
Второй зоной армирования в столбчатых фундаментах, является ростверк.
Армирование ростверка свайного фундамента производят только по его нижней и верхней поверхности с учетом толщины защитного слоя бетона.
Фундамент с ростверком на сваях: рекомендации
Часто, с целью экономии, застройщики берутся строить фундамент с ростверком самостоятельно. Как правило, они применяют для устройства свай буронабивной метод. Интернет изобилует подобного рода инструкциями на этот счет.
Мы не рекомендуем строить фундамент подобным способом, так как Вы рискуете в скором будущем жить в разрушающемся доме.
Справедливости ради стоит отметить, что в некоторых случаях такой вариант может обеспечить надежность строения. Все зависит от состояния грунтов, глубины бурения и качества бетона.
Но в большинстве случаев строительство, без предварительного исследования грунта и точного соблюдения технологии изготовления буронабивных свай, лучше не производить.
Наша компания погружает сваи под любой тип свайного фундамента в строгом соответствии с требованиями СНиП и проектом строительства.
Уровень подготовки и опыт наших специалистов позволяет решать задачи оперативно и с высоким качеством проведения свайных работ.
Получить консультацию и заказать свайные работы можно заполнив форму заявки.
Так же рекомендуем посмотреть:
- Требования СНИП по забивке свай
- Как закрыть свайный фундамент
Наша компания занимается забивкой свай — обращайтесь, поможем!
Монтаж монолитного ростверка
Когда сваи установлены, подготовительные этапы (расчеты, подготовка поверхности) завершены, начинается монтаж ростверка.
Установка свай – первый этап, а не аналогичная процедура. Ростверком называется система из свай.
Монтаж: установка опалубки, армирование ростверка, заливка фундамента бетоном, гидроизоляция конструкции.
Монтаж опалубки
Опалубка – вспомогательная конструкция из дерева, без которой монтаж осложняется.
От нее зависит форма, вид фундамента. Она съемная, сосуд, внутрь которого заливается цементобетон, бетон, похожий раствор.
Часто, для опалубки используют фанеру, реже – доски из пород дерева. Вариант конструкции зависит от расположения ростверка над уровнем грунта.
Опалубка
Основное отличие опалубки для висячего ростверка от наземного фундамента – «нижняя стенка». Закрепляют плотно, если дно вывалится, придется переделывать работу.
Армирование
Армирование производится металлическими прутьями.
Сначала, изготавливается, заверяется чертеж. По нему производится армирование.
Предварительные соединения между несущими прутьями выполняют проволокой, сваривают.
По произведению армирования, «внутренности» опалубки очищают пылесосом. После очищения будущий фундамент готов к заливке состава.
Заливка бетоном
Самый ответственный этап, залитую бетоном конструкцию нельзя разобрать, демонтировать один элемент, устранить. Перед созданием монолита проверяются основные параметры — прочность креплений, правильность воссоздания (относительно чертежей, заверенных мастером), геометрию (прямоту углов, общий уровень).
Цементный, бетонный раствор заготавливается заранее. Однородный, без комков. Цемент и бетон можно смешивать (или первично закупается цементобетонная масса).
Для равномерности советуют замешивать строительным миксером, бетономешалкой.
Осуществление замеса большого объема насадкой на дрель невозможно.
Заливка осуществляется в один подход, только так обеспечивается плотность, однородность монолита. Перерыв делается не больше, чем на час. Заливают каждый слой равномерно, не торопясь, постоянно помешивая, уплотняя разжижившийся раствор.
Опалубка поднимается, демонтируется после полного застывания цемента, бетона. До этого момента демонтаж формы приводит к деформации.
Заливка
Гидроизоляция
Гидроизоляция – защита полученного результата от воздействия воды.
Вид гидроизоляции зависит от варианта ростверка. Установлено, что вариантов два – углубленный, висячий.
Висячий изолируется от воздействия влаги смолистыми обмазками. Например, битумной мастикой.
Изоляция монолита с углублением начинается до возведения конструкции. Рубероид укладывается под будущий бетон. После формирования фундамента, подъема опалубки производится первичная обработка (шлифовка, выравнивание). После, укладывают изоляционную пленку на ростверковую поверхность.
Висячая конструкция изолируется пленкой, другими изоляционными материалами, но это непрактично. Пленка, другие модификации утяжеляют висячую конструкцию, создают дополнительную нагрузку. Это мешает фундаменту выполнять основную функцию – опора здания. Увеличивается риск продавливания, искажения формы.
В целях практичности, при нежелании использовать битумную мастику, нужно обращаться к аналогам, но не к окологрунтовому варианту.
Армирование ростверка свайного фундамента: чертеж и расчеты
- Монтаж фундамента
- Выбор типа
- Из блоков
- Ленточный
- Плитный
- Свайный
- Столбчатый
- Устройство
- Армирование
- Гидроизоляция
- После установки
- Ремонт
- Смеси и материалы
- Устройство
- Устройство опалубки
- Утепление
- Цоколь
- Какой выбрать
- Отделка
- Устройство
- Сваи
- Виды
- Инструмент
- Работы
- Устройство
- Расчет
Поиск
- Монтаж фундамента
- ВсеВыбор типаИз блоковЛенточныйПлитныйСвайныйСтолбчатыйФундамент под металлообрабатывающий станокУстройство фундамента из блоков ФБСЗаливка фундамента под домХарактеристики ленточного фундамента
- Устройство
- ВсеАрмированиеГидроизоляцияПосле установкиРемонтСмеси и материалыУстройствоУстройство опалубкиУтеплениеУстранение трещин в стенах фундаментаКак армировать ростверкНеобходимость устройства опалубкиКак сделать гидроизоляцию цоколя
- Цоколь
- ВсеКакой выбратьОтделкаУстройствоОтделка фундамента камнемВыбор цокольной плитки для фасадаЧто такое цокольКак закрыть винтовые сваи
- Сваи
- ВсеВидыИнструментРаботыУстройствоДинамические и статические испытания свайИспользование железобетонных свайИзготовление винтовых свай своими руками
Самостоятельная установка фундамента
- Установка первого колышка в один из углов, при этом, основным здесь является расстояние от границ участка до одной из стен.

- От установленного колышка откладывают расстояние в одну сторону по длине фундамента.
- Опять же, от первой метки отмеряют расстояние по ширине фундамента перпендикулярно первому отрезку.
- Обязательно контролируют угол между двумя линиями. Он должен обязательно получиться под 90 градусов.
Формирование ростверка
После построения внешних очертаний фундамента со сваями и ростверка, подобную процедуру проделывают и с внутренними. Для этого нужно отмерить расстояние, и также очертить контур, ширина которого составляет минимум 40 см.
Далее переходят к непосредственной установке свай. Их количество, а также расстояние между ними должно быть указано в расчётах, произведённых с учётом СНиП. После того, как сваи установлены, нужно создать деревянную опалубку, которая будет сложить основанием для ростверка. Для дополнительной прочности и долговечности в середину опалубки укладывается металлическая арматура, которая прочно соединяется между собой.
На этом подготовительные работы окончены и можно переходить к заливке бетонной смеси.
Осуществляя данную процедуру по СНиП, желательно уплотнять бетон штыкованием, как показано на видео, а также следить, чтобы вся арматура оказалась внутри ростверка.
Для достижения максимальной прочности свайного фундамента следует использовать цемент необходимой прочности (обычно не менее М200), а также учитывать все указания СНиП. После заливки бетонной смеси, необходимо дать набрать ей прочность в течение, как минимум месяца. В этот период фундамент со сваями ни в коем случае нельзя нагружать.
После выполнения всех этапов и рекомендаций, а также соблюдения действующего СНиП, должен получиться прочный свайный фундамент с ростверком, который будет отличаться надёжностью и долговечностью.
О целесообразности армирования
Потребность усилить основание здания стальной арматурой связана с особенностями бетона. Материал обладает повышенной стойкостью к воздействию сжимающих усилий, однако восприимчив к воздействию изгибающих моментов и растяжения, вызывающих нарушение целостности и деформацию основания.
Отметим, что армированию подлежат фундаменты, в которых используются сваи двух видов — забивные и буронабивные
Армирование свайно ростверковой конструкции позволяет предотвратить вероятность разрушения, повысить устойчивость, ресурс эксплуатации возводимого здания. Расположенный внутри бетонного массива арматурный каркас воспринимает растягивающие нагрузки и изгибающие усилия, обеспечивая устойчивость возводимой основы.
Независимо от конструкции применяемых свай, расположенных внутри грунта, опорные колонны, также, усиливают арматурой. Расположенные в сваях стальные стержни связываются в общую конструкцию с арматурным каркасом опорной поверхности.
Армирование ростверка свайного фундамента позволяет:
- Предотвратить разрушение монолитного массива в результате реакции почвы.
- Значительно увеличить прочность базы, воспринимающей нагрузку от массы строения.
- Не допустить усадку строения, вызванную низкими прочностными характеристиками основы.

Усиление ростверкового фундамента позволяет избежать негативных явлений.
Технология заливки фундамента
Порядок действий при строительстве свайно-ростверкового фундамента может выглядеть следующим образом.
Разметка участка
В отличие от разметки ленточного фундамента нанесение контура опорного основания на поверхность земли не производится. Основная операция — установка колышков на месте нахождения каждой сваи. Контрольная операция — проверка равенства длины диагоналей по угловым кольям наружного периметра и внутри каждого прямоугольника внутренних перегородок. Замеры нужно производить рулеткой соответствующей длины.
Необходимо вбить колышки в места установки свай, а затем проверить равенство диагоналей по крайним точкам фундамента
Земляные работы и заливка свай
Выемка грунта по контуру при высоком ростверке не производится. Нужно только пробурить шурфы на местах, где ранее были установлены колья. Для этого можно привлечь подрядчика с ямобуром, тогда все работы будут выполнены в течение нескольких часов.
При использовании бура диаметром до 30 сантиметров шурфы можно сделать своими руками, если глубина погружения не превышает пяти метров.
Заливка каждой сваи должна производиться без перерывов. Для этого используется бетон марки 300, постоянно приготовляемый на месте выполнения работ. Подачу раствора внутрь скважины лучше производить по деревянному или металлическому лотку.
Работы выполняются в таком порядке:
- Удаляется растительность на площадке строительства, включая траву, кусты и деревья.
Производится бурение скважины.
- На дне скважины устраивается дренажный слой из песка (до 15 сантиметров) и гравия средней фракции (до 20 сантиметров). Слой уплотняется трамбовкой и проливается водой.
В скважины устанавливаются трубы из выбранного материала. Все верхние концы обсадок должны находиться на одном уровне по горизонту.
- Изготавливаются армирующие решётки и погружаются в шурфы, обеспечивая выпуск концов арматуры над срезом трубы для связи сваи с ростверком при его заливке.

Приготавливается бетонный раствор и заливается в трубы. Допускается перерыв в заливке свай, но нельзя прерывать формирование сваи до заполнения трубы.
Обязательно в процессе заливки производить его уплотнение. В противном случае в теле сваи могут образоваться пустоты.
Можно воспользоваться услугами бетононасоса, тогда к заливке нужно приготовить все скважины одновременно.
Устройство ростверка, заливка бетоном
Приступать к заливке ростверка можно спустя не менее 7 дней после окончания бетонирования свай. Поэтому времени на подготовительные работы по ростверку вполне достаточно.
По окончании заливки свай нужно приступить к установке опалубки для ростверка. Она выполняется из любого доступного материала, но чаще всего из досок.
По форме опалубка представляет собой лоток, закрепляемый на весу подпорками. При её установке нужно контролировать горизонтальность верхнего края, в противном случае может получиться неровная опорная поверхность, что неминуемо скажется на эксплуатационных характеристиках здания.
Опалубка выполняется в виде лотка на проектной высоте
Далее работы выполняются в следующей последовательности:
Производится установка арматуры, которую предварительно можно смонтировать на земле в виде параллелепипеда. В зависимости от величины ростверка применяется четырёх- или шестипрутковая конструкция.
- Заливка ростверка бетоном. Заливка обязательно должна быть выполнена в один день. Обработка погружным вибратором в процессе заливки обязательна.
- Время полной готовности фундамента к дальнейшим работам наступает спустя 28 дней после окончания бетонирования. До этого момента нужно укрыть его плёнкой и ежедневно смачивать водой.
Видео: изготовление свайно-ростверкового фундамента
Свайно-ростверковые фундаменты в своё время стали революционным решением для строительства самых различных зданий.
Применение винтовых металлических свай вообще исключает необходимость земляных работ, что значительно сокращает трудоёмкость и сроки сооружения фундамента. Успехов вам!
Особенности конструкции фундамента
Что такое фундамент на сваях? Это знают все – это определенное количество столбов, которые забиваются в грунт. Причем нижний край находится на глубине промерзания грунта. Но такая конструкция в чистом виде применяется на практике довольно редко.
Причина заключается в том, что достаточно сложно распределить нагрузку, которую создает дом на все сваи. На одной окажется большая нагрузка, а на второй — меньше. Именно по этой причине свайные фундаменты применяются, как правило, в конструкциях с малым весом – под срубы из бруса или бревна, каркасные дома.
Брусья или бревна обладают одним хорошим качеством – они позволяют перераспределить нагрузку равномерно на все точки опоры. Постройки из других материалов справляются с такой задачей намного хуже. Но вот устройство свайного фундамента с ростверком таково, что в нем нет недостатков, указанных выше.
Поэтому его можно без проблем применять в конструкциях из кирпича или блока. Конструкция состоит из нескольких свай и ленты (обычно изготавливается из чистого бетона или с применением металлической арматуры), которая связывает все точки опор. Именно такую ленту и называют ростверком.
Расчет буронабивного фундамента с ростверком
В ходе разработки проектного задания выполняются расчетные действия по определению точного числа опорных свай и их размещение. Сваи выставляются рядами в соответствии с разметкой объекта, на его угловых участках, в точках пересечения стен и между этими местами.
Расстояние между опорами определяется общей массой строящегося объекта: чем он тяжелее, тем больше столбов потребуется, и расстояние установки будет меньше.
Следует учесть минимально разрешенные расстояния – не меньше трех свайных диаметров. Причина заключается в том, что на слишком часто расположенные опоры снижаются несущие способности.
Устанавливая сваи собственными силами рекомендуется проверять по уровню оголовки, которые должны возвышаться над поверхностью на одной высоте.
Рассмотрим, как выполняется расчет несущей способности буронабивного фундамента с ростверком.
Чтобы определить необходимое количество опорных элементов, потребуется два исходных показателя – масса объекта и несущие возможности отдельного элемента. Определение прочности одной сваи зависит от марки применяемой бетонной смеси. Если используется М100, то опора выдержит до ста килограмм на квадратный сантиметр. Сечение сваи 200 на 200 мм создает площадь опоры в 400 см. кв. Значит, опорный столб выдержит нагрузку в сорок тонн.
Следовательно, несущие возможности почвы значительно ниже, чем свайные. Получается, что определение потребности в сваях и их несущих характеристик будет недостоверным, если не учесть показатель прочности грунтового состава.
Ростверк объединяет всю конструкцию и повышает устойчивость основы. Если буронабивной фундамент устраивается без ростверка, следует выполнить расчеты, гарантирующие установку всех опор на необходимую глубину, гарантирующую, что сооружение не просядет и не «выдавится» морозным пучением.
Изготовление деревянного ростверка
Балки деревянной конструкции изготавливаются из бревен, бруса, клееных балок, сертифицированных для использования вне помещений. Подобно металлическим балкам, деревянные укладываются на предварительно изготовленные опоры, которые могут быть любого типа. Элементы, составляющие деревянный ростверк, как деревянный, соединяются между собой при помощи различных врезок, врубок, металлических забивных скоб, шурупов, резьбовых нагелей.
Важно! Для предотвращения появления плесени, гнили, поражения древоядными насекомыми элементы перед использованием нужно обработать антисептиками, а для защиты от пожаров антипиренами – веществами, не позволяющими древесине поддерживать горение.
Перед монтажом деревянных конструкций на оголовках опордолжна быть устроена надежная гидроизоляция, препятствующая фильтрации воды из влажного грунта к вышележащим элементам. Деревянная конструкция может использоваться для возведения цельных деревянных или деревянно-каркасных одноэтажных домов.
При должном укреплении фундамента, деревянные конструкция может использоваться в условиях дальнего востока и севера, где промерзает земля более чем на 50 сантиметров за зиму.
Однако потребуется дополнительная теплоизоляция.
Под сваю/колонну | Выберите Да, чтобы сосредоточить рабочие стержни над сваями и под колоннами. | % ширины сваи/колонны | Область сосредоточения стержней в процентах от ширины сваи или колонны. Например, если диаметр или ширина сваи — 500 мм, при вводе в поле % ширины сваи значения 120 стержни будут сосредоточены в области шириной 600 мм над сваей. | Доля стержней (%) | Выраженная в процентах доля стержней, сосредоточенных над сваей или под колонной. |
расчет, строительство, армирование и заливка монолитного ростверка
Строительство домов и других сооружений осуществляется на фундаментах различного типа.
Свайно-ростверковый фундамент возводится, если к тому имеются основания.
Подобный фундамент строится в случае:
- слабые пучинистые грунты;
- большие перепады в рельефе участка строительства;
- высокий уровень грунтовых вод;
- наличие вечной мерзлоты и прочие причины.
Сваи могут применяться различные, как по способу погружения, так и по материалу изготовления. Но в любом случае, в прочную единую конструкцию их связывает ростверк.
Виды ростверка
Ростверк представляет собой конструкцию в виде единой плиты или балок, которые связаны с каждой из свай. В случае балочного ростверка получается конструкция, напоминающая ленточный фундамент, но в отличие от последнего, лента ростверка практически никогда не заглубляется в землю. Это связано с тем, что грунт зимой из-за мороза выпирает, и это его свойство может негативно сказаться на целостности ростверка.
Соединение отдельных элементов ростверка и свай может осуществляться при помощи сварки и монолитных участков.
Ростверк из бетона с арматурным каркасом
Ростверк может выполняться :
- из бетона с укладкой арматурного каркаса,
- может быть сборным из элементов заводского изготовления,
- может быть комбинированным.
Железобетонный ростверк
Выполняя фундамент свайный с ростверком, можно использовать различные материалы и способы.
При возведении деревянных домов на сваях из дерева ростверком служит нижний венец дома, связывающий все сваи.
Можно сделать ростверк из металла, используя в виде балок швеллеры или двутавры. Но цена такого ростверка будет высока. К тому же, сделать такой ростверк вручную не по силам даже двоим. Нужно или приглашать бригаду рабочих, или арендовать подъемный кран. И то и другое значительно увеличивает стоимость всего строительства.
И последний довод, не в пользу металлического ростверка — металл рано или поздно, даже обработанный антикоррозийными составами, будет подвержен разрушению ржавчиной, что приведет к полной реконструкции строения.
Металлический ростверк
Наиболее удобным в плане технологии и цены будет фундамент с монолитным ростверком, выполненным из железобетона. Потому что даже готовые железобетонные балки, укладываемые на головы свай, также имеют слишком большой вес. Чтобы уложить такие балки или плиты потребуется подъемная техника.
Как рассчитать свайный фундамент с ростверком
В первую очередь, следует определить состав грунта на участке.
И в большей мере тот, который залегает на предполагаемой глубине устраиваемого фундамента, поскольку от этого будет зависеть:
- длина свай;
- их конструкция;
- расстояние между сваями
- несущая способность сваи.
При расчете свайного фундамента с ростверком определяются нагрузки, оказываемые массой дома на сваю и грунт.
Общий вес здания складывается:
- из его веса;
- веса кровли;
- веса перекрытий;
- временных нагрузок в виде снега;
- полезных нагрузок в виде людей, мебели, инженерного и бытового оборудования.

Данные по нагрузкам умножаются на поправочный коэффициент, равный 1.3.
Дальнейший расчет производится, учитывая общую площадь строения. Обычно свайные фундаменты с ростверком применяются для домов с площадью не менее 300кв.м. При меньшей площади такие фундаменты нецелесообразны с экономической точки зрения.
Точный расчет свайного фундамента может сделать только квалифицированный инженер – строитель. Своими силами такой расчет сделать невозможно.
На основании инженерного расчета, где указано количество свай, шаг между ними, глубина их погружения, можно своими силами приступать к устройству свайного фундамента с ростверком.
Сваи для частного дома можно сделать как буронабивными, так и винтовыми. Второй вариант более экономичный, так как требует меньше времени на устройство. При этом следует учитывать, что винтовые сваи можно заглублять своими силами, без привлечения специальной техники. Отпадает необходимость в расчистке участка от верхнего слоя почвы и выравнивания рельефа.
Главное условие при устройстве свайно-винтового фундамента с ростверком – это грамотно сделанный расчет несущей способности свай, их количества и расположения на участке строительства.
Армирование ростверка свайного фундамента
Свайный фундамент, независимо от вида свай, обязательно должен быть армированным. Сваи армируются для придания им надлежащей прочности, точно также и ростверк армируется для улучшения своей несущей способности.
Кроме этого, арматура, выступающая из бетона на голове сваи, служит местом соединения свай и ростверка в единую конструкцию. Даже когда железобетонные сваи срубаются для придания горизонтальности в плане, некоторая часть арматуры остается для последующего крепления сваркой с арматурой балок или плит ростверка.
Неармированные элементы ростверка попросту не смогут выдержать тех нагрузок, которые приходятся на них от веса стен и перекрытий.
При устройстве свайного фундамента с ростверком армирование осуществляется арматурой периодического профиля диаметром 10-12 мм, иногда используется арматура диаметра 14 мм.
При устройстве ленточных ростверков арматурный каркас изготавливается из двух поясов – верхнего и нижнего, которые связываются между собой вертикальными металлическими стержнями, диаметром 6-8 мм. Меньший диаметр обусловлен тем, что вертикальные прутки арматуры практически не несут никакой нагрузки и предназначены только лишь для придания формы арматурному каркасу.
Каждый пояс состоит, как минимум, из двух горизонтально расположенных прутьев периодического профиля. Оба пояса связываются между собой посредством вертикальных стержней и вязальной проволоки. Причем вертикальные стержни не обязательно должны быть из стали периодического профиля.
На заводах ЖБИ при изготовлении арматурных каркасов для свай используются сварочные автоматы, которые сваривают поперечные соединения точечной сваркой, но сами поперечные круги или квадраты (в зависимости от формы сечения сваи) связываются с продольными арматурными прутьями только методом вязания.
Строительство фундамента с ростверком в виде плиты требует больших затрат на бетонную смесь и арматуру.
Но принцип армирования такой же, как и в ленточных фундаментах. Также верхний пояс арматурного каркаса представляет собой сетку из стержней периодического профиля диаметром 10-14 мм и вертикальных стержней меньшего диаметра.
Фундамент с ростверком в виде плиты
Стоимость фундамента с ростверком, в основном, зависит от количества использованной бетонной смеси, количества арматуры, объема пиломатериала, затраченного на опалубочные работы и еще некоторых факторов.
По своей конструкции ростверки бывают:
- высокими,
- низкими.
Заглубленный ростверк находится своей нижней плоскостью на одном уровне с землей или на несколько сантиметров ниже уровня почвы.
Между сваями копается неглубокая траншея, в которую послойно укладывают песок и щебень с трамбованием.
Оголовки свай, которые находятся на одном уровне с подстилающим слоем, должны быть закрыты гидроизоляцией.
Устанавливается опалубка, в которую монтируют арматурный каркас. Арматура каркаса и оголовок свай связываются между собой и производится заливка фундамента. При этом следует арматурный каркас укрепить в опалубке таким образом, чтобы он не доходил до стенок опалубки на 5 см.
Но такое устройство ростверка возможно лишь на непучинистых грунтах. В противном случае, выдавленный морозом грунт может или выгнуть балку ростверка посередине, или совсем её оторвать от сваи. Поэтому, прежде чем устраивать такой ростверк, следует поинтересоваться видом грунта под вашим строением.
Сборные ростверки могут устраиваться как высокими, так и низкими. При устройстве высокого ростверка готовую балку устанавливают на железобетонный оголовок, который предварительно смонтирован на свае при помощи монтажного хомута и залит бетонной смесью.
Низкий сборный ростверк устраивается непосредственно на выравнивающей подсыпке. Соединение балки и сваи происходит путем устройства монолитного участка в отверстиях балки, куда отгибаются выступающие из сваи арматурные стержни.
чертеж, схема, отличие от работы с монолитным, ленточным, расчет количества материалов, технология и этапы монтажа
Армирование – важный технологический этап при строительстве ростверка свайного фундамента.При этом используют металлопрокат установленного качества, а в конструировании следуют технологии, описанной в нормативной документации к проектированию железобетонных оснований.
Рассмотрим в статье все особенности армирования свайного основания, нужен ли чертеж и для чего, в чем отличия от процедуры при монолитном плитном фундаменте, а также технологию и этапы монтажа.
Особенности процесса
Ростверк представляет собой верхнюю часть опорной конструкции, которая объединяет между собой сваи. Благодаря обвязке фундамент становится жестче и увеличивается его устойчивость по отношению к опрокидывающим нагрузкам.
По материалу изготовления ростверк может быть:
- деревянным;
- металлическим;
- железобетонным.
Последний вариант выгодно отличается повышенной несущей способностью и может быть использован для строительства жилых многоэтажных домой и других тяжеловесных конструкций.
Необходимость в армировании ленты обусловлена тем, что сам по себе бетон как материал подвержен изгибающим и растягивающим силам, которые могут стать причиной разрушения основания.
Армированный каркас внутри монолитной ленты ростверка свайного фундамента принимает на себя нагрузки, тем самым увеличивая надежность фундамента и обеспечивая сохранение его эксплуатационных характеристик в процессе использования. Такую же функцию выполняет армокаркас для столбчатых, буронабивных и железобетонных свай.
Конструкция ростверка
Схема поэтапного возведения ростверка. Разметка свайного поля. Ростверк – это верхняя часть свайного основания. Именно на него ложится вся нагрузка непосредственно от несущих стен и перекрытий, а основное его назначение – это правильный равномерный перенос нагрузки от здания на каждую опору отдельно или на их пучок.
Производятся ростверки с различных материалов, а самым надежным и долговечным считается монолитный ростверк (железобетонный, бетонный с армированием, ленточный с блоков, прочие модификации).
Такая плита всегда делается на некотором расстоянии от поверхности почвы, пространство под ними иногда открытое, а в некоторых случаях строят кирпичную кладку по периметру ростверка с целью сделать теплоизоляцию внутренней поверхности конструкции.
Зачем делать чертеж?
Во всех деталях разработанный чертеж ростверка свайного основания позволяет:
- определить потребность в стальных прутьях для армокаркаса;
- собрать силовую конструкцию в соответствии с нормативными требованиями.
Графическая схема отображает следующую информацию:
- размеры силовой конструкции;
- диаметр стальных прутьев;
- профиль сечения стержней;
- шаг между перемычками;
- интервал между арматурными поясами;
- конструктивные особенности каркаса.
Имея перед собой чертеж, застройщик может без труда рассчитать необходимое количество прутьев и перемычек для создания армирующего каркаса, подобрать сортамент арматуры, высчитать вес прутков для заказа и, как следствие, добавить соответствующую статью расхода в общую смету.
Как выбрать арматуру?
Армирующий каркас представляет собой пространственную конструкцию, которая состоит из верхнего и нижнего продольных поясов, соединенных между собой поперечными прутками. Для изготовления продольных поясов используют рифленую арматуру класса A-III с сечением 13-16 мм.
В последнее время широко используются композитная арматура с напылением из песка, которая отличается более высокими прочностными характеристиками по сравнению с металлом, а также устойчивостью к коррозионным процессам.
Соединение конструкции может быть выполнено по двум технологиям:
- Поперечные перемычки присоединяются путем вязки или сварки к продольным поясам под углом 90о. В этом случае для прутков необходимо использовать стальные стержни такого же типоразмера, что и при обустройстве пояса. Схема такой конструкции:
- Перемычки имеют выгнутую в хомуты форму, благодаря чему система арматурных прутьев соединяется в единую конструкцию.
В этом случае используются гладкие стальные пруты класса A-II с диаметром сечения от 8 до 10 мм. Композитная арматура не подлежит гибке, поэтому не подходит для изготовления хомутов. Схема такой конструкции представлена ниже:
Электросварку чаще заменяют обвязкой арматуры и перемычек стальной проволокой. Для этого используют термически обработанную специальную вязальную проволоку диаметром от 1,2 мм.
Армирование плитного фундамента.
При расчете необходимого количества арматуры, нужно воспользоваться типом и формой будущего основания. Эти характеристики железобетонной основы можно получить, определившись из будущей нагрузкой на фундамент и несущими характеристиками почвы. Тут часто используются ребристые прутья в горизонтальных и вертикальных поясах, это арматура класса А3 с толщиной 10 мм. Но при обустройстве армирующих поясов можно использовать прутья и большей толщины. Ведь чем они толще, тем фундамент получится прочнее. Также проектировщик при расчете должен учесть особенности почвы, тип будущего здания,его высотность и периметр.
Если грунт плотный, то степень деформации основания будет меньшей. Если же почва рыхлая, тогда в сваях и в ростверке нужно применять арматуру с диаметром 14-66 мм, или даже большую. А шаг сетки для всех типов армирования составляет 20 см.
Как рассчитать количество арматуры?
Перед тем, как планировать конструкцию армирующего каркаса, необходимо ознакомиться с нормативными требованиями, изложенными в СП 63.13330.2018. Ключевые аспекты, которые отражены в документации и понадобятся для расчета количества материла:
- количество стержней для продольных поясов – от 4 шт.;
- расстояние между арматурой в поясах – максимум 10см.
- шаг между горизонтальными перемычками – 20–30см;
- шаг между вертикальными прутками – 25–40см;
- зазор между краем фундамента и арматурой – не менее 5см.
Имея чертеж с нанесенными габаритами и зная шаг, можно достоверно рассчитать необходимое количество металлопроката для изготовления армокаркаса.
Например, ширина ростверка 50 см, а длина – 10 м. Тогда, учитывая защитный слой бетона с обоих сторон силовой конструкции, для одного продольного пояса с шагом 10 см понадобится 4 стержня. Таким образом рассчитывают количество прутьев для каждой стороны каркаса.
В случае с монтажом силовой конструкции при помощи вязальной проволоки придерживаются установленного правила, что на одну обвязку в среднем уходит 25–30см металлопроката. Зная количество стыков, можно рассчитать потребность в материале.
Устройство
Свайно-ростверковый фундамент состоит из вертикальных опор, установленных рядами, кустами или в виде свайного поля. Порядок расположения свай определяется материалом и габаритами постройки, ее конфигурацией и сосредоточением массивных элементов, нуждающихся в прочной и надежной опорной конструкции.
Так же от расчетных параметров будущей постройки зависит глубина погружения свай, нередко их тип и материал. Погруженные сваи обрезаются на одинаковую высоту, чтобы образовалась горизонтальная площадь.
Если использованы железобетонные сваи, обрезке подлежат только бетонные части, а арматуру оставляют для сварки с армпоясом ростверка.
Если планируется металлический или деревянный ростверк, арматуру также обрезают, а на верхушки свай устанавливают специальные конструкционные элементы — оголовки, представляющие собой род колпака с посадочной площадкой под монтаж балок обвязки.
Технология и этапы процесса
Монтаж армирующего каркаса начинают после завершения всех предыдущих этапов строительства фундамента, а именно:
- устройства свай в грунте;
- строительства опалубки;
- укладки слоя гидроизоляции.
Силовую конструкцию помещают в готовую щитовую опалубку, внутри которой выступают прутья армокаркаса опор. Сборку конструкцию выполняют с помощью проволоки или соединяют прутья методом сварки.
Некоторые строители опасаются, что сваренный каркас хуже противостоит деформациям из-за отсутствия эластичности, но при строительстве многоэтажек чаще применяют сварку, потому что это более практичный и быстрый в реализации способ.
С точки зрения эксплуатационных характеристик, различия между методами соединения армокаркаса не существенны.
Технологические этапы:
Ориентируясь на чертеж, нарезают с помощью болгарки стальные прутья на заготовки с нужными размерами.- На дно опалубки укладывают пластиковые опоры или кирпичи под горизонтальные прутья, чтобы обеспечить зазор между нижней частью основания и металлом.
- На подставки укладывают продольные стержни, к которым приваривают или привязывают горизонтальные перемычки с выбранным шагом.
- К углам образовавшихся ячеек крепят вертикальные перемычки.
- Вертикальные перемычки соединяют с продольной арматурой верхнего пояса.
- К полученным углам крепят верхние горизонтальные перемычки.
- Усиливают углы силовой конструкции с помощью изогнутых прутьев.
Углы армирующего каркаса в большей степени подвержены значительным нагрузкам, поэтому важно уделить особое внимание надежности фиксации стержней в этих местах.
Используемые типы свай
В зависимости от способа погружения выбираются сваи:
Забивные. Для них заранее подготавливаются скважины, глубиной 1/3 от высоты сваи. Для установки применяется специальная строительная техника: вдавливающая машина, вибромолот, вибропогружатель. В качестве забивных используются деревянные, стальные, железобетонные и пустотелые опоры.
Железобетонные сваи: при соблюдении технологии установки опоры прослужат много десятилетийИсточник block-gbi.ru
- Буронабивные. В скважину помещают опалубку и арматуру для прочности, затем заливают бетоном.
- Буровые. Заранее бурят скважины, в которые затем устанавливают ж/б опоры.
- Винтовые. Они представляют собой полые трубы, в нижней части которых находятся лопасти и заостренный наконечник. В грунт опоры вкручиваются с помощью специальной техники.
УБМ-85 для закручивания винтовых свайИсточник stroy-dom-pravilno.ru
Сваи могут иметь прямоугольное либо круглое сечение.
В качестве материала для них применяют бетон, железобетон, сталь различных марок, древесину преимущественно хвойных пород. Из пород деревьев наиболее подходящей считается лиственница, содержащая большое количество смол, защищающих сваи от гниения.
Забивные металлические сваи – одни из самых дешевых и прочныхИсточник blog-potolok.ru
Преимущества свай:
- относительная дешевизна;
- незначительные временные затраты на установку;
- независимость от уровня грунтовых вод;
- надежность (при соблюдении технологии монтажа).
Винтовые сваи применяют даже в условиях вечной мерзлотыИсточник museblog.ru
Все вышеперечисленные виды свай используются при установке свайно-ростверкового фундамента. При выборе свай учитывают особенности грунта и нагрузки. Для частных домов чаще всего выбирают буронабивные и винтовые сваи.
Ошибки и советы
Армирование ростверка выполняют строго по технологии, описанной в СП 63.13330.2018 и связанных с ним нормативных актах, в противном случае невозможно прогнозировать надежность и срок службы фундамента.
Чаще всего строители допускают такие ошибки:
- Неправильные размеры армирующего каркаса. Чтобы придать жесткости ростверку, силовую конструкцию располагают максимально близко к краю бетонной ленты, оставляя при этом слой бетона (минимум 50 мм). Для наземных и заглубленных ростверков слой бетонного раствора без армирования увеличивают до 70 мм.
- Использование других вспомогательных предметов для армирования – рельс, сетку-рабицу и т.д. Применять гладкие стальные прутья можно только в качестве поперечных перемычек. Для создания продольных поясов используют насеченную арматуру толщиной до 14 мм.
- Армирование прутьями, бывшими в эксплуатации, на которых сохранились остатки краски и видны следы коррозии. Все поверхностные дефекты мешают сцеплению бетона с металлом. Технология допускает только нанесение тонкого слоя эпоксидного покрытия в качестве гидроизоляционного мероприятия.
Расчет основания с ростверком
Для правильного расчета под ростверк нужно учитывать:
- Близость нахождения подземных вод, водный баланс основания – частота дождей, разливы рек;
- Особенности грунта – плотность, состав;
- Нагрузка от строительства, здания вместе с мебелью.

Самостоятельные расчеты нужно согласовать с мастером. В вопросах расположения фундамента мнением знающих не пренебрегают. Неправильно отстроенный фундамент «подкосит» строительство, в интересах хозяина избежать убытков: материальных, временных.
Исходя из расчетных цифр, устанавливаются глубина забивки свай ростверка, количество. Нужно учитывать глубину промерзания грунта – конструкцию вбивают на 20 см ниже.
По свае приходится на угол, центральную часть стены, над колоннами, каминами, окнами, на места соединений с перемычками. Перемычки монтируют после. Располагают ростверк по всему фундаменту, соблюдая интервал. Дальше устройство подлежит армированию.
Армирование требуется для укрепления. Неармированный фундамент дисбалансирует, разрушается.
Армирование ростверка свайного фундамента
Как правильно армировать фундамент (арматурный каркас)
Во-первых, арматура должна быть чистой, без грязи и мусора.
Только чистая арматура хорошо сцепляется с бетоном. В каркасе арматура есть двух типов (по назначению): рабочая и распределительная. Предназначение рабочей арматуры – принятие внешних нагрузок и от собственной массы здания. Распределительная арматура распределяет нагрузки на весь каркас.
Связь между арматурами обеспечивают сварные швы или проволочные связки. Чаще для надежности пользуются сваркой. Но если предполагаемые нагрузки на фундамент невелики, то можно обойтись и вязанием проволоки. В основном, арматурный каркас скрепляется на углах фундамента. Если диаметр арматурных прутьев менее 25 мм, то их скрепляют точечной сваркой или проволокой. Если более 25 мм, – то дуговой.
Помните: во всем каркасе должно быть скреплено не менее половины арматурных пересечений, на углах рекомендуется соединять все стыки.
Если ваша арматура имеет класс от 1 до 3 и диаметр не более 40 мм, то соединение производят с накладкой. При этом сварной шов не должен быть очень коротким, иначе крепление может разрушиться.
Для любого вида фундамента лучше использовать ребристую арматуру, так как она максимально крепко соединяется с бетоном.
Если будущий дом легкий, одноэтажный и неширокий, то можно использовать арматуру диаметром 10 мм. Если дом двухэтажный или широкий (длинный), то нужно использовать 12-милимметровую арматуру.
Как самому армировать ленточный фундамент?
Ленточная основа является одной из самых распространённых фундаментных конструкций. Она представляет собой горизонтальную полосу, опоясывающую весь периметр здания, проходящую под его наружными несущими стенами и внутренними конструктивными перегородками. Основное её преимущество – это сравнительная простота изготовления. Как и любому другому типу фундамента, ей нужен надёжный “скелет”, который обеспечит её прочность и продлит срок эксплуатации. Далее речь пойдёт о том, как самому сделать арматурный каркас для ленточного фундамента.
Для изготовления последнего потребуется стальная арматура.
Она почти не сжимается, весьма пластична, предотвращает деформации фундамента и стен, а также сдвиги почвы. Сначала нужно грамотно её подобрать – в зависимости от фактической нагрузки на основание. Следует учесть вес будущего здания и глубину фундамента, и только затем выбрать изделия нужного диаметра (обычно – 10-12 мм).
Армирование ленточного фундамента
Изготовление арматурного каркаса для фундамента ленточного типа не обходится без некоторых нюансов. Необходимо предварительно рассчитать расстояние между прутьями каркаса и отразить его в проекте. Зависит оно от глубины будущей основы и может составлять 10-25 см. Сами ячейки каркаса не могут быть больше или меньше, чем 40×30 см (длина и ширина соответственно), глубина же их будет зависеть от предполагаемой нагрузки на фундамент.
Как известно, существует два варианта соединения частей арматурного каркаса фундамента – связывание и сварка. В случае с ленточной основой сварку использовать не рекомендуется, так как она меняет физические свойства металла и делает его значительно тоньше.
Лучше всего связывать прутья в местах соединения при помощи проволоки. Желательно при этом обеспечивать их целостность и избегать промежуточных соединений.
Подробная инструкция в деталях расскажет, как собрать крепкий и надёжный “костяк” для основания данного типа.
Первый и самый главный этап – это проектирование. Да, даже для создания арматурного каркаса необходим проект, в котором следует указать каждый его прутик, их количество и основные параметры (диаметр и длину). Только после этого можно приступать к подготовке самого каркаса.
Для начала необходимо приготовить арматуру – основную, диаметром 10-12 мм, и потоньше, диаметром, например, 8 мм. Последнюю нужно согнуть в прямоугольные “кольца”.
Начинать монтаж арматурного “скелета” нужно практически одновременно с установкой опалубки. Для выполнения его обвязки следует приготовить крючок и вязальную проволоку. Правильно выполненное армирование обеспечит достаточную прочность всей конструкции и не позволит ей деформироваться в процессе заливки бетона.
Затем необходимо вбить стальные прутья в землю по всему периметру постройки. К ним будут впоследствии привязаны верхний и нижний пояса конструкции. Так обеспечивается её оптимальная жёсткость.
Установка арматуры производится попарно, вертикально или горизонтально. В зависимости от способа, шаг будет 30 см или 2 м соответственно. В случае с горизонтальным типом армирования на стыках перемычек также нужно вертикально уложить прутья. Если по каким-либо причинам характеристики их в проекте не указаны, то каркас создаётся из двух рядов вертикальных прутьев, а крепятся они горизонтальными полосами, количество которых будет зависеть от глубины основания.
Следуя этим рекомендациям, можно вполне справиться с заданием самостоятельно.
Армирование монолитного ленточного фундамента своими руками
В зависимости ширины и высоты ленточного фундамента армирование может производиться в 2 и более слоя каркасной сетки с шагом от 15 до 25 см.
Обычно ширина ленточного монолитного фундамента составляет 40-60 см, а высотка 50-100 см. Если размеры 40×50 см, отступ горизонтальной и вертикальной сетки может быть по 10-15 см от всех сторон. При высоком фундаменте вертикальный шаг между горизонтальными арматурами может быть от 30 до 40 см (получается, при 100 см высоты и 60 см ширины шаг равен 40 см при 3-х горизонтальных арматурных сетках, а отступ от верхнего и нижнего края равен 10 см).
Горизонтальный шаг между вертикальными арматурами может быть равен 30 см и более, а расстояние до края бетона 1по 10 см с каждой стороны. В итоге количество арматурных сеток и шаг между ними рассчитывается, исходя из нагрузки на фундамент.
Особенности арматуры для ленточного фундамента
Для строительства коттеджей и загородных домов часто используется ленточный фундамент, который для прочности обязательно армируют. Зачем в данном случае требуется арматура, попытаемся выяснить.
Если сравнить ленточное основание с плиточным, окажется очевидным тот факт, что последний фундамент по своим параметрам на порядок компактнее первого.
Это означает, что давление на него будет оказываться большее. А это может стать причиной разрушения. В связи с этим ленточные фундаменты чаще всего выбирают для строений из относительно легких строительных материалов – бруса, пенобетона и т.д. Армирование ленточного фундамента производится прутьями с диаметром от 1 до 1,4 см. Наиболее толстую арматуру выбирают для возведения зданий на рыхлой или нестабильной почве.
Выкладка арматуры, как и в случае с плиточным основанием производится в два слоя. Для большей прочности данные слои надежным образом закрепляются между собой.
Для стандартного дома площадью 6х6 м потребуется 30 м ленточного фундамента, что соответствует 120 м арматуры.
Армирование плитного фундамента своими руками
Поскольку плитный фундамент – это большой цельный прямоугольник или квадрат, ему необходимо обеспечить максимальную прочность и жесткость. Поэтому всю арматурную сетку нужно сваривать на каждом соединении, как горизонтально, так и вертикально.
Таким образом, плита получит максимальные показатели надежности.
Поскольку для плитного фундамента используются широкие каркасы арматуры, нужно следить за тем, чтобы она была полностью погружена в бетон (иначе в будущем плита может сломаться в месте выхода арматуры).
В зависимости от типа нагрузки толщина фундаментной плиты может быть от 20 до 30 см. Как правило, армирование плитного фундамента производится в 2 слоя. Шаг между горизонтальными прутами бывает от 20 до 40 см, шаг между вертикальными прутами примерно такой же. Главное — чтобы отступ всех прутьев от края фундамента был не менее 5 мм. Диаметр прутов должен быть не менее 12 мм, а арматура – только ребристая (для максимального сцепления с бетоном).
Армирование ростверка
В любом случае, фундамент свайного типа должен быть в обязательном порядке армированным. Сами сваи армируют в первую очередь для того, чтобы придать им соответствующей прочности.
В свою очередь армирование ростверка производится для максимального увеличения его несущей способности.
Та часть арматуры, которая будет выступать из свайной конструкции, будет использована в качестве соединительного элемента между самой сваей и ростверком.
Само скрепление, как правило, осуществляется при помощи сварки.
Для проведения армирования необходимо использовать предварительно составленный чертеж, кроме этого, должна быть перед глазами и непосредственно схема армирования.
Следует помнить, что те элементы ростверка, на которых не будет произведено соответствующее армирование, просто не выдержат нагрузок при возведении стен и перекрытий дома.
Для этих целей рекомендуется использовать арматуру с диаметром сечения от 10 до 14 миллиметров.
В том случае, когда монтируются ленточные ростверки, сам арматурный каркас следует сделать из двух отдельных поясов.
Между собой они должны быть жестко связаны при помощи вертикальных стержней из металла с диаметром сечения до восьми миллиметров.
Такой диаметр выбирается ввиду того, что эти металлические прутья практически не подвергаются нагрузке, а предназначены главным образом для того, чтобы придать соответствующую форму каркасу.
Обязательным условием является то, что каждый пояс должен состоять не менее, чем из двух прутьев.
Между собой пояса связываются при помощи стержней, расположенных в горизонтальном положении и связанных обыкновенной вязальной проволокой.
При производстве арматурных каркасов для фундаментов с ростверком на промышленных предприятиях для крепления поперечных соединений используют сварочные аппараты.
Однако непосредственно поперечные круги или квадраты с продольными прутьями соединяются исключительно методом вязания.
Если предполагается устройство снования в виде сплошной монолитной плиты, то схема армирования остается точно такой же, как и в фундаментах ленточного типа.
В этом случае верхний пояс каркаса выполняется в виде сетки из арматуры с диаметром сечения от 10 до 14 миллиметров, а для обустройства вертикальных стержней используется арматура с меньшим диаметром.
На стоимость самого фундамента главным образом влияет количество бетона и арматуры, которые используются для его обустройства.
Кроме этого, в стоимость включаются пиломатериалы, которые необходимы для возведения опалубки. В зависимости от своей конструкции, ростверки могут быть высокими или низкими.
Однако вне зависимости от типа выбранной конструкции принцип армирования ростверка остается неизменным.
В том случае, когда предполагается основание загубленного типа, его нижняя часть должна находиться на одном уровне с грунтом.
В некоторых случаях возможно его опускание на несколько сантиметров ниже.
Между сваями необходимо устроить траншеи, в которых из тщательно утрамбованных песка и щебня делаются соответствующие подушки.
Далее производится монтаж опалубки и собирается арматурный каркас.
Этот арматурный каркас должен быть жестко связан с оголовками свай и не доходить до стенок установленной опалубки примерно на пять сантиметров.
Только после этого производится заливка бетоном самого фундамента. Следует отметить, что такой ростверк возможен, только если дом возводится на непучинистом грунте.
Во всех остальных случаях необходимо обустраивать высокие ростверки, при этом также следует уделить особое внимание армированию всей конструкции.
Винтовые сваи представляют собой практичный материал для устройства прочного и надежного фундамента . По затратам он обходится намного дешевле.
Устойчивый фундамент на буронабивных сваях считается наиболее надежным, так как всегда устанавливается в самых плотных слоях грунта, залегающих ниже.
Популярность газобетона обусловлена его высокими тепло- и звукоизоляционными качествами, устойчивостью к температурным колебаниям и абсолютной.
Армирование столбчатого фундамента своими руками
Армировать столбчатый фундамент очень просто. Для этого достаточно 4-6 длинных ребристых арматурных прутов и несколько тонких гладких прутов, чтобы ровно связать их. Длинный прут должен быть диаметром 10-12 мм, для гладкого достаточно 6 мм. Если столб слишком узкий (например, 20 см), то его можно армировать двумя прутами.
При длине столба в 1,5-2 метра связывать арматурные пруты можно на расстоянии 40-50 см. Если фундамент для тяжелого дома, то связки лучше приварить. Армируйте столбчатый фундамент так, чтобы после заливки арматура выступала на 10-20 см. Так к ней удобно привязывать каркас ростверка.
Особенности арматуры для столбчатого фундамента
При закладке столбчатого фундамента также производится армирование. Но в данном случае можно использовать относительно тонкие прутки (10 мм). Так же, как и в прочих случаях, для вертикальной установки следует использовать ребристые пруты, а для горизонтальной – гладкие. На каждый столб основания потребуется от 2 до 4 стержней, длина которых равна высоте столба.
Некоторые не слишком опытные строители допускают непростительные ошибки при армировании. Например, «усиливают» примыкания и углы при помощи перекрестного соединения, что недопустимо и неизбежно приводит к разрушению фундамента. Еще одна ошибка – не обращать внимания на тип металла, использующийся для строительства.
Всегда, находятся те, кто армирует фундамент при помощи рельсов, сетки рабицы или, к примеру, проволоки. Но они совершенно не задумываются о том, что ни один из перечисленных материалов не обладает характеристиками, необходимыми для предупреждения деформации.
Ростверковый фундамент и его основные характеристики
Фундамент ростверк с металлическим каркасом, его преимущества и основные характеристики, советы по установке.
Что такое ростверковый фундамент? Это определение вы могли слышать и раньше из-за его широкой популярности среди загородной строительной жизни. Ростверковый фундамент — разновидность свайного фундамента, который характеризуется наличием железобетонных фундаментных балок или ростверка. Этот ростверк укладывается поверх фундаментных свай и располагается на высоте 6-8 дюймов над землей.
Особенности ростверка фундамента
Ростверк соединяет весь фундамент в единую конструкцию и тем самым способствует равномерному распределению веса дома и всех свай.
Чаще всего этот фундамент устраивают в виде монолитной железобетонной конструкции. Прочность ему обеспечивает металлический каркас (ростверковый фундамент из стали).
Типы ростверковых фундаментов
Конструкции ростверкового фундамента делятся на разные виды по типу используемых свай:
- винтовые сваи,
- сборных файлов,
- подвесные сваи Буронабивные сваи
- .
Преимущества и недостатки ростверка фундамента
Преимущества ростверка фундамента:
- требуется меньше времени и материалов для его установки;
- снижает теплоотдачу дома с помощью фундамента, так как не заделывается в мерзлый грунт;
- снижает уровень вибрации дома (очень актуально, если дом строится вблизи автомагистралей).
Недостатки фундамента ростверка :
- необходимость устройства свай на достаточно большой глубине;
- пространство под ростверком должно быть заполнено и утеплено.

Целесообразность ростверка фундамента
Фундамент данного типа целесообразно сооружать для зданий из легких строительных материалов (дерево, бетонные блоки, бетон и др.) на непрочных грунтах. Другими словами, ростверковый фундамент следует выбирать в том случае, если:
- есть желание сэкономить до 30% на строительстве фундамента;
- характеристики грунтов и условия их залегания на участке (высокий уровень грунтовых вод, пучинистые грунты, большая глубина промерзания) не позволяют возвести другой тип фундамента;
- нагрузка на будущий дом ожидается относительно небольшой.
Советы по установке и насадки
- Сваи
Бурятся скважины под сваи по периметру будущего фундамента дома. Глубина таких колодцев должна быть на 2 метра больше, чем глубина обычного промерзания грунта в данном регионе. Глубина и диаметр отверстий под сваи рассчитываются в зависимости от характеристик грунта и чаще всего их глубина находится в пределах 4 дюймов, а диаметр около 8 дюймов.
Высота каркаса должна быть такой, чтобы верхние концы арматуры выводились над залитыми сваями для соединения с каркасом будущего ростверка. Он необходим для надежного соединения ростверка и свай. Элементы каркаса соединяются между собой вязкой из мягкой стальной проволоки. После установки сваи заливают бетоном. Бетон предварительно готовят в бетономешалке с использованием кварцевого песка и щебня. После заливки сваи оставляют на месяц для окончательного схватывания бетона и приобретения достаточной прочности.
- Ростверк
Ростверк может быть выполнен из сборных сборных железобетонных элементов или в виде монолитного пояса. Второй вариант предпочтительнее, так как сплошной монолитный ростверк гораздо надежнее.
Для изготовления монолитного железобетонного ростверка в первую очередь необходимо изготовить и установить опалубку. Его можно сделать из обрезных досок в виде прямоугольных желобов и установить так, чтобы между нижней частью будущего ростверка и землей получился зазор примерно 6-8 дюймов.
Высота его обычно составляет около 1 метра, а ширина должна равняться минимальной толщине стены будущего дома.
Внутри кожуха установить каркас из арматурных связей с помощью вязальной проволоки. Такие каркасы могут быть выполнены в виде одного или двух рядов створок, соединенных перекрещивающимися стержнями, или в виде укладочных сетей, в которых два ряда соединяются при помощи специально изогнутых хомутов. Нижний ряд арматуры должен располагаться на постаменте высотой около 25-3о мм, обеспечивающем его полное погружение внутрь бетона при заливке.Минимальное расстояние от рамы до боковых стенок опалубки должно быть одинаковым. Арматура связана такой же вязальной проволокой с выпусками арматурных свай. С помощью бетономешалки готовят необходимое количество бетона и заливают его в опалубку в непрерывном цикле. В процессе заливки бетона необходимо внимательно следить за его плотной укладкой, чтобы не получить незаполненные пустоты. Для лучшей усадки бетона можно использовать вибратор или обычную штыковую лопату.
После полной заливки ростверка поверхность фундамента выравнивают и оставляют до полного высыхания бетона. Если погода очень жаркая и очень солнечная, поверхность ростверка следует периодически увлажнять. После высыхания бетона опалубку можно снять. Теперь ваш ростверк фундамент готов.
Надеемся, эта статья помогла вам получить необходимую информацию о ростверковом фундаменте.
Рекомендуем:
Основные типы фундаментов домов и их особенности и недостатки.
Типы свайных фундаментов в строительстве.
Типы фундаментов и способы устройства фундаментов различных типов
Ниже приведены некоторые из основных типов фундаментов и методов строительства фундаментов:
Неглубокие фундаменты:
Фундаменты, предусмотренные непосредственно под самой нижней частью конструкции, близко к уровню земли, известны как мелкозаглубленные фундаменты.
Такие фундаменты чаще всего размещаются на первых твердых и прочных слоях, доступных ниже уровня земли. Фундаменты мелкого заложения далее подразделяются на следующие типы:
- Насыпные или открытые траншейные фундаменты
- Фундамент ростверка
- Сплошной фундамент
- Ступенчатый фундамент
- Фундаменты перевернутой арки
1) Фундаменты на фундаменте:
Фундаменты, сооруженные за счет увеличения площади основания конструкции с помощью отступов, называются фундаментами на широком фундаменте.В таких фундаментах распространение дается под основанием стены или колонны путем обеспечения смещения. Этот спред известен как фундамент, а сам фундамент называется спредом.
См. также: Зачем закладывать фундамент? | Анализ напряжения несущей способности | Подпорная стенка
Вообще говоря, все типы мелкозаглубленных фундаментов можно назвать фундаментами на основе фундамента.
Однако с точки зрения дизайна и конструкции они были обозначены отдельно.Существуют различные типы фундаментов на фундаменте;
а) Фундамент стены:
Это распространенный и самый простой тип фундамента на фундаменте; Он состоит из ряда рядов кирпичей, самый нижний из которых обычно в два раза толще стены выше. В этом типе фундамента ширина основания стены увеличивается за счет отступов по 5 см (четверть длины кирпича) с каждой стороны стены. Глубина каждого ряда обычно 10 см
Однако в некоторых случаях нижний ряд делают глубиной 20 см.В случае фундамента для стен магазина размер смещения немного больше, чем у фундамента кирпичной стены.
Способ возведения фундамента стены:
Для возведения фундамента стены сначала укладывается слой из тощего цементного бетона (1:8:16) по всей длине стены. Толщина этого тощего бетонного основания обычно составляет 15 см, а его ширина на 20-30 см больше, чем у нижнего слоя.
Ни в коем случае глубина бетонного основания не должна быть меньше его выступа за основание стены.Для фундаментов на твердом или уплотненном грунте можно обойтись без бетонного основания под фундаментом кирпичной стены. После укладки бетона для устройства бетонного основания его необходимо надлежащим образом уплотнить и затвердеть перед укладкой основного слоя стены.
Подходит:
Это самый дешевый тип фундамента на открытом фундаменте, который в основном используется для стен обычных зданий.
б) Фундамент каменной колонны:
Изолированные фундаменты используются для поддержки отдельных столбов и колонн, построенных из кирпичной или каменной кладки.Они укладываются в основание стены после обеспечения смещения бетона фундамента на 15 см со всех сторон.
c) Бетонное основание колонны:
Они бывают ступенчатого, сланцевого или наклонного типа с выступами в бетоне. Для поддержки больших нагрузок в основании также предусмотрено усиление.
Предусмотренная арматура имеет форму стальных стержней и размещена в обоих направлениях. Бетонные фундаменты колонн могут быть как изолированными, так и комбинированными.Изолированные опоры используются для поддержки отдельных колонн, тогда как комбинированные опоры используются там, где выступы разных колонн невозможны со всех сторон из-за ограниченного пространства.
Комбинированные фундаменты обычно имеют прямоугольную форму, когда обе колонны имеют одинаковое сечение, и трапециевидную форму, когда колонны имеют разное сечение.
2) Фундамент ростверка:
Фундамент, состоящий из одного или двух ярусов деревянного или стального катаного профиля с заполнением пространства бетоном, называется ростверковым фундаментом.Называется так потому, что ложе, построенное в таком типе фундамента, называется ростверком. Этот тип конструкции позволяет избежать глубокой выемки грунта и обеспечивает необходимую площадь в основании сооружения для снижения интенсивности давления в пределах безопасной несущей способности грунта.
ОБЪЕКТ :
Целью этого типа фундамента является распределение нагрузки на большую горизонтальную площадь в основании конструкции.
Типы ростверкового фундамента
В зависимости от материала, используемого в строительстве, ростверковые фундаменты подразделяются на два типа.
- Фундамент стального ростверка
- Фундамент для деревянного ростверка
Фундамент стального ростверка
Способ устройства стального ростверка фундамента:
- Для устройства ростверкового стального фундамента выкапывается траншея расчетной ширины и глубиной около 0,90 м — 1,50 м. Дно траншеи трамбуется и выравнивается.
- Затем укладывается и уплотняется слой тощего цементобетона (1:8:16) толщиной около 30см.
- После этого наносится и уплотняется слой богатого цементного бетона (1:2:4) толщиной около 15 см, образуя бетонное основание.
- Поверх подготовленного таким образом бетонного основания нижний ярус, состоящий из ряда стальных двутавров проектных размеров, укладывают на заданном расстоянии друг от друга с помощью распорных стержней.
Пространство между стальными балками и вокруг них заполняется цементным раствором. - На этот нижний ярус при необходимости укладывается второй слой стального двутавра.
- Затем все пространство заливается цементобетоном 1:2:4. На подготовленном таким образом основании ростверка сооружается конструкция в виде стальной стойки, колонны, пирса.
Для строительства фундамента из деревянного ростверка
- Деревянные доски, обычно толщиной от 5 до 8 см, укладываются бок о бок в продольном направлении на подготовленное дно вырытой для этой цели траншеи.
- Доски должны располагаться шириной на 45-60 см больше с каждой стороны, чем проектная ширина основания конструкции.
- На этом нижнем слое досок укладываются прямоугольные деревянные бруски подходящего размера на расстоянии около 35 см от центра к центру.
- Затем над ним укладывается верхний слой досок, обычно толщиной от 8 до 10 см, уложенных бок о бок, шириной, равной ширине основного слоя конструкции
- На подготовленной таким образом деревянной платформе возводится конструкция в виде деревянной колонны или даже каменной стены.

Пригодность стального ростверка фундамента:
Фундаменты из стальных ростверковиспользуются для таких конструкций, как колонны, опоры, стойки, подверженные тяжелым сосредоточенным нагрузкам, и, следовательно, используются для фундаментов зданий, таких как театры, фабрики, ратуши, залы и т. д.Фундаменты из деревянного ростверка обычно предусматривают под деревянные колонны, подвергающиеся большим сосредоточенным нагрузкам. Такой тип ростверкового фундамента также можно смело использовать для легких построек, где встречающийся грунт мягкий и постоянно заболоченный.
3) ПЛОТНЫЙ ФУНДАМЕНТ:
Фундамент, состоящий из толстой железобетонной плиты, покрывающей всю площадь мата, известен как ростверк.
Метод строительства плотного фундамента:
- При строительстве плотного фундамента вся площадь выкапывается на заданную глубину и на 30 см шире покрываемой площади.
- Грядку уплотняют и обрызгивают водой.

- Затем укладывается слой силикатного бетона или тощего бетона (1:8:16) до подходящей толщины, который служит в качестве нижнего покрытия.
- После этого укладывается арматура. Арматура состоит из близко расположенных стержней, расположенных под прямым углом друг к другу.
- Затем укладывается цементобетон (1 : 2 : 4 ) и уплотняется до необходимой толщины.
- Уложенная таким образом бетонная плита затем должным образом отверждается
- При чрезмерных нагрузках также можно соорудить толстые бетонные балки, проходящие под колоннами.
ПРИГОДНОСТЬ :
Этот тип фундамента подходит для общественных зданий, офисных зданий, школьных зданий, жилых кварталов и т. д., где состояние грунта очень плохое, а несущая способность грунта настолько мала, что невозможно предусмотреть отдельное фундаментное основание.
4) СТУПЕНЧАТЫЙ ФУНДАМЕНТ:
Другим типом фундамента является ступенчатый фундамент.
Для строительства ступенчатого фундамента земляные работы выполняются в виде ступеней, имеющих небольшую длину и одинаковую толщину, а кладочные работы выполняются на горизонтальном основании из бетона, подготовленного таким образом.
Если существует вероятность проскальзывания конструкции целиком, железобетонные сваи могут быть забиты вдоль бетона основания на наклонной стороне.
5) ФУНДАМЕНТ ПЕРЕВЕРНУТОЙ АРКИ:
Фундамент, состоящий из перевернутых арок между опорами, известен как перевернутый арочный фундамент. В этом типе фундамента нагрузка от опор передается на грунт за счет устройства в их основании арок в перевернутом положении. Высота перевернутых арок составляет от одной пятой до одной десятой части пролета и строят их обычно кольцами в полкирпича.Положение арок может быть либо вдоль ряда опор, либо поперек ряда опор в обоих направлениях в зависимости от характера почвы и типа земли, которую они будут занимать.
СПОСОБ КОНСТРУКЦИИ:
Для строительства данного типа фундамента;
- Земляные работы выполняются на требуемую глубину.

- Дно котлована выравнивается и уплотняется
- Затем укладывается бетонный фундамент необходимой толщины и отделывается в соответствии со схемой возведения арок под опоры.
- Кольца арки, обычно толщиной в полкирпича, затем возводятся на цементном растворе и сооружаются опоры.
- Концевые опоры должны быть спроектированы и сконструированы таким образом, чтобы выдерживать распор, вызванный действием арки.
ПРИГОДНОСТЬ :
Этот фундамент обычно не используется для зданий, но вполне подходит для других конструкций, таких как мосты, резервуары, резервуары, опоры для дренажных линий и т. д.
ГЛУБОКИЙ ФУНДАМЕНТ:
Фундамент, построенный достаточно ниже уровня земли с некоторыми искусственными сооружениями, такими как сваи, колодцы и т. д. в их основании, называется фундаментом глубокого заложения.Глубокие фундаменты подразделяются на следующие типы;
- Свайный фундамент
- Фундамент колодца
- Фундамент кессона
1) СВОЙНОЙ ФУНДАМЕНТ:
Фундамент (залитый фундамент или ростверк), опирающийся на сваи, называется свайным фундаментом.
Свайный фундамент обычно состоит из основания настила или ростверка, опирающегося на сваи в нижней части. Сваи распределяют нагрузку конструкции на контактирующий грунт либо только за счет трения, либо за счет трения в сочетании с опорой на их концах.
ПРИГОДНОСТЬ :
Этот тип фундамента подходит в следующих случаях;
- Когда почва очень мягкая и твердое основание недоступно на разумной глубине, чтобы поддерживать несущую способность в безопасных пределах.
- При большой протяженности ростверка и ростверка.
- Когда здание очень высокое, несет тяжелые сосредоточенные нагрузки.
- Когда необходимо построить здание вдоль берега моря или русла реки
Дайте нам знать в комментариях, что вы думаете о концепциях в этой статье!
Основа долговечности вашего дома – свайно-ростверковый фундамент
Строительство любого дома начинается с устройства фундамента.Статистика показывает, что чаще всего в качестве основы будущего дома выбирают ленточный фундамент.
Это хорошо, но не всегда правильно, так как ленточный фундамент стоит недешево. Аналогом его замены может стать свайно-ростверковый фундамент. Не уступает ему по прочности, грузоподъемности и сопротивлению пучинистости грунта.Свайно-ростверковый фундамент считается идеальным вариантом для небольших домов, гаражей, беседок, бань и других маловесных построек. По этой причине такую основу выбирают для строительства домов из бревна и бруса.Иногда для домов из блока, если речь идет о малоэтажном строительстве и небольшой площади.
Подготовка основания перед заливкой ростверка
Устройство фундамента начинается со снятия точек на местности. Для этого отбивают контур будущего дома, измеряют диагонали, равенство которых гарантирует правильность выполненных работ. Затем согласно проектной документации строительства размечают количество свай на плоскости, снимают верхний слой грунта и приступают к их заглублению.Углубление можно сделать лопатой или буром. Главное условие выполняемых работ – сваи должны быть заглублены на величину промерзания грунта.
Особенно это касается угловых опор. Например, для многих городов ЦФО глубина промерзания грунта составляет 1,2 метра. Углубляясь на эту величину, земля забрасывается в будущий фундамент.
Типы ростверков для свайного фундамента
Ростверки для свайных фундаментов могут быть разные: металлические, деревянные, бетонные.Металлический вариант подходит для стальных свай, которые вкручиваются в основание. Использование этого варианта требует навыков в области сварки.
Наиболее распространен вариант бетонного ростверка. Он удобен тем, что позволяет получить прочное, идеально ровное основание, со сроком службы более 80 лет. Правда, этот вариант требует больших затрат сил, времени и денег, но зато позволяет связать все сваи воедино. Третий вариант – дерево, представляющее собой свайный фундамент с ростверком из бруса.Такая основа активно используется для деревянных домов, что в ряде случаев позволяет даже использовать ростверк в качестве первого венца деревянного строения.Деревянный ростверк требует дополнительной гидроизоляции, а также должен быть защищен от насекомых.
Подготовка к устройству ростверка на бетонной основе
Продолжая строительство свайного фундамента с ростверком, натягивают нить и отбивают контур будущего ростверка. Отбив плоскость, перекапывают верхний плодородный слой, примерно на штык, засыпают подушку из песка и выравнивают основание.Затем приступают к обустройству опалубки. Для устройства опалубки сбивают щиты из досок, ОСП и других ровных материалов.
Распорки устанавливаются так, чтобы на 1 погонный метр опалубки приходилось около 2 колышков.
Опалубка должна располагаться идеально по горизонтали, чтобы потом не пришлось подрезать плоскость перед строительством.
Дно и стенки опалубки рекомендуется покрыть пленкой, которая обеспечит гидроизоляцию основания и защитит его от пучения грунта и высыхания после заливки бетоном.Подходит для заливки бетона для ростверка марки М250-М300.
Как только опалубка готова, приступают к армированию. Очень важно связать между собой арматуру будущих свай. Если в работе есть нахлест арматуры, то между стержнями должно быть не менее 40 см.Рекомендуется усиление не менее чем 4 стержнями.
Между первым рядом и песком следует оставлять пространство до 5-7 см, чтобы бетон полностью проливался под стержень.Для этого подложите под каждый стержень красный кирпич, чтобы оставить фиксированное пространство.
После завершения подготовительных работ следует произвести расчет кубатуры и заказать бетон марки М200-М300.
Заливка производится за один день.
Преимущества фундамента на сваях с ростверком
Используя фундамент на сваях с ростверком, можно добиться следующих преимуществ от выбранного типа фундамента:
- Деньги сэкономлены.Вам придется покупать гораздо меньше бетона, в целом экономия может составить процентов 50 и более. Кроме того, работу можно выполнить своими руками, что позволит сэкономить еще больше. Копать тут особо нечего, так что работа будет несложной.
- Низкий расход материала. Именно поэтому допускается заливать основание своими руками, замешивая бетон на бетономешалке.
- Производительность такая же, как и у ленточного фундамента. Получаем морозостойкое основание, которое не боится пучинистости грунта и внешних нагрузок.Его можно использовать для домов разной формы и с разной этажностью. Поэтому, отвечая на вопрос «что такое ростверк фундамент», можно смело ответить, что это качество, надежность и уверенность в завтрашнем дне.

- Нет вибрации. Это достигается за счет подвесной конструкции, которая избавляет жильцов домов от дискомфорта, если их жилища расположены вблизи железной дороги.
- Экономит время строительства. Такие технологии часто применяются для возведения мелкозаглубленных фундаментов, что позволяет приступить к строительству уже через пару-тройку дней после заливки.Таким образом, за сезон можно построить надежный недорогой дом, под индивидуальные размеры ростверка свайного фундамента.
- Большой интервал времени работы. Возводить такие фундаменты можно в любое время года, кроме зимы, когда температура воздуха опускается ниже -10%. Следует отметить низкие теплопотери, так как ростверк предохраняет грунт, засыпанный в цоколь, от прямого контакта с атмосферой.
Недостатков у такого фундамента почти нет.Разве что здесь отмечают ограниченную эксплуатацию таких фундаментов с домами, нагрузка на основание которых превышает 7 тонн. И цокольный этаж, как и цокольный этаж, здесь уже не оборудовать.
Как ухаживать за свайным фундаментом с ростверком
Если вы сегодня залили висячий ростверк на сваи, это не значит, что завтра можно смело забыть о фундаменте и ждать, пока он высохнет. Как и любое бетонное основание, ростверк требует ухода.На второй день его следует накрыть пленкой и ежедневно поливать обильным количеством воды. Тогда не будет трещин и сколов. К 28 дню он наберет максимальную силу. Конечно, вы можете начать строительство раньше. Главное помнить, что сухой фундамент – гарант образования трещин. Поэтому полейте ростверк водой и накройте пленкой.Мелкозаглубленный фундамент на сваях нужно возводить уже в начале весны. Нагружать его нужно до наступления морозов, чтобы основание не выдавливалось пучением грунта..
Углубленный фундамент допускается копать и заливать под зиму, так как глубина его залегания больше глубины промерзания грунта.
Теперь вы знаете, как правильно построить свайно-ростверковый фундамент. Главное – правильный расчет нагрузки на землю, профессиональная геологоразведка, точное вынос контура дома и соблюдение норм и правил строительства.
Свайно-ростверковый фундамент своими руками — видео
Что такое фонд Grillage | Типы ростверкового фундамента
Ростверковый фундамент состоит из одного или двух ярусов балки (балки двутаврового сечения), уложенной под прямым углом для распределения нагрузки надстройки на грунт или на большую площадь.
Что означают уровни?
Слово «ярусы» указывает здесь, отрегулируйте прокатную стальную балку (балку двутаврового сечения) в линию и равномерный слой. Как и все стулья, выстроены в ряд в вагоне поезда.
Этот фундамент используется для передачи нагрузки от колонны к грунту. Также обратите внимание, что такие типы фундаментов не используются для многоэтажных домов, на которые собираются передавать большие нагрузки.
Фундамент — оптимальный вариант, а не свайный фундамент из-за низкой несущей способности грунта для перемещения тяжелых грузов на большую площадь.Выбор этого фундамента снижает стоимость конструкции и время.
Потому что не нужно много копать. Выемка грунта ограничена от 1 м до 1,5 м.
Грабные основания имеют три типа, как описано ниже: —
- Сталь Grillage Foundation
- Timber Grillage Foundation
- Бетона Гриль 80018
Стальная Гриль состоит из стальной балки (двутаврового сечения) из двух или более слоев, расположенных под прямым углом друг к другу.Технически двутавровое сечение известно как катаная стальная балка, и вкратце мы можем сказать R.S.J. луч.
Брус двутаврового сечения в основном используется для устройства крыш домов в сельской местности. Стальная балка укладывается на кирпичную стену на точном расстоянии, затем на нее укладывается камень, после чего применяется дальнейший процесс.
Как построить стальной ростверковый фундамент? Ростверковые фундаменты выкапываются по ширине и глубине для строительства.
Ростверковый фундамент не копает от 1 метра до 1.5 метров. После копания.
После копания грунт утрамбовывается и поверх этой утрамбованной поверхности укладывается слой бетона, толщина которого может быть менее 10 см и не более 30 см.
кредит на www.constructiontuts.comИмейте в виду, что вибратор с насадкой необходимо правильно уплотнить, чтобы предотвратить образование сот в бетоне. Стальные балки укладываются поверх слоя бетона. Бетон заливают для защиты стали от коррозии.
Из-за плотного бетона стальные балки не достигают увлажнителя, что также снижает вероятность коррозии стали.
Все стальные балки соединены между собой. стержень проходит через стенку стальной балки, и каждая стенка фиксируется болтом, который не может двигаться. С внешней стороны фланцев, а также посередине оставляют покрытие не менее 10 см, чтобы можно было легко заливать бетон. Бетон заливают ниже фланца.
Затем в ряд и по уровню укладывается еще один слой стальной балки. А потом заливают бетон.
В конечную колонну укладывают вместе с косынкой пластину и закрепляют сваркой.
В фундаменте ростверка деревянный весь процесс такой же, но вместо стального бруса здесь используется деревянный брус или доски.
Фундамент ростверк бетонныйВ фундаменте ростверка бетонный используется бетонная балка двутаврового сечения.
Преимущества ростверкового фундамента- Уменьшение стоимости конструкции и времени.
- Нет необходимости нанимать технику для рытья траншеи.
- Для возведения фундамента требуется меньше бетона.
- Хороший выбор вместо свайного фундамента, для которого требовалась тяжелая техника.
- Предотвращает боковое смещение поддерживающего материала.
Типы фундаментов, используемых в строительстве
Что такое Фонд?
Фундамент — это самая нижняя часть конструкции, передающая нагрузку на поддерживающий грунт.
Основное назначение фундамента – распределить общий вес надстройки по большой площади грунта.Ниже описаны различные типы фундаментов, которые используются в строительстве.
Назначение основания:
Фундаменты в основном предназначены для следующих целей:
i) Распределить нагрузку конструкции на большую площадь, чтобы интенсивность нагрузки не превышала безопасную несущую способность подстилающего грунта.
ii) Для равномерного распределения нагрузки на нижний слой грунта и предотвращения неравномерной осадки фундамента.
iii) Обеспечить ровную и твердую поверхность надстройки, которая над ней возводится.
iv) Для повышения устойчивости конструкции к скольжению, опрокидыванию или любым другим силам, таким как ветер, дождь и т. д.
v) Для предотвращения бокового перемещения поддерживающего материала, чтобы гарантировать безопасность конструкции.
Типы фундаментов:
Фондможно разделить на две основные категории:
- Неглубокий фундамент.

- Глубокий фундамент.
1. Неглубокий фундамент:
Когда глубина фундамента равна или меньше его ширины, он называется малозаглубленным фундаментом.В этом типе фундамента часть фундамента расположена непосредственно под самой нижней частью конструкции (см. рисунок ниже). Общая нагрузка конструкции распределяется по горизонтальной площадке на небольшой глубине ниже уровня земли.
Проще говоря, если фундамент построен на разумной глубине, то это мелкозаглубленный фундамент.
Класс мелкозаглубленного фундамента:- Распорные фундаменты.
- Комбинированные фундаменты.
- Матовый или плотный фундамент.
- Ростверковый фундамент.
- Фундаменты с внецентренной нагрузкой.
В этом типе фундамента под основанием стены или колонны предусмотрен распор, известный как фундаменты, а фундаменты с такими фундаментами известны как распорные фундаменты.
Распределение предусмотрено для распределения нагрузки конструкции на грунт на более широкую площадь, чтобы не превышалась безопасная несущая способность грунта.
Типы фундаментов:
i) Фундамент стены: В этом типе фундамента ряды кирпичей (обычно глубиной 100 мм) укладываются под надстройкой с отступом 50 мм наружу с каждой стороны стены.
ii) ЖБ фундамент: ЖБ фундаменты используются, когда каменная стена подвергается очень большой нагрузке, а несущая способность грунта очень низкая. В этом типе фундамента, как правило, слой бетона толщиной 3 см проверяется до того, как над ним возводится железобетонный фундамент. В железобетонных фундаментах предусмотрены арматурные стержни. Основание железобетонной колонны может быть квадратным, прямоугольным или круглым.
Комбинированный фундамент состоит из общего фундамента, предусмотренного для двух колонн, которые могут быть прямоугольными или трапециевидными.
Ленточный фундамент: Этот тип фундамента распределяет вес несущей стены по площади земли. Фундамент обычно имеет двойную ширину несущей стены, иногда даже шире.
Ленточный фундамент: В ленточном фундаменте внешняя и внутренняя колонны соединены ленточной балкой, которая не передает никакой нагрузки на нижележащий грунт.
Плотный фундамент:Сплошной фундамент состоит из плотной железобетонной плиты, перекрывающей всю нижнюю площадь конструкции.Этот тип фундамента предусмотрен в грунте с низкой несущей способностью, где нагрузка на конструкцию велика.
Фундамент ростверка:
Этот тип фундамента подходит, когда нагрузка, передаваемая стеной или колонной, исключительно велика, а несущая способность грунта очень низкая. Глубокие раскопки также исключены из этого фундамента. Фундаменты ростверка бывают двух видов:
- Фундамент стального ростверка и
- Фундамент ростверк деревянный.

В этом типе фундамента распределение давления на грунт остается равномерным. Однако фундамент может подвергаться внецентренной нагрузке в следующих случаях:
i) Когда колонна или стена расположены на границе участка, их фундамент ограничен и не может выходить за пределы участка, что приводит к эксцентричным нагрузкам на фундамент.
ii) Консольные балконы, кронштейны и т. д., прикрепленные к стенам или колоннам, создающие изгибающий момент и, таким образом, вызывающие внецентренную нагрузку на фундамент.
Внецентренные нагрузки вызывают неравномерное распределение давления на подстилающий грунт фундамента. Если эксцентриситет небольшой, следует следить за тем, чтобы максимальная интенсивность давления не превышала безопасной несущей способности грунта. А если эксцентриситет большой, стена или колонна могут опрокинуться. В этом случае можно использовать следующие два метода для обеспечения устойчивости стены/колонны без нарушения зоны за границей участка.
а) Смещение фундаментов
b) Испытание ленточных фундаментов.
2. Глубокий фундамент:
Глубокий фундамент — это тип фундамента, в котором фундамент размещается на большей глубине ниже уровня земли. Глубина фундамента намного больше его ширины.
Глубокий фундамент можно разделить на три категории:
- Свайный фундамент.
- Коффердамы.
- Фонд Кессона.
Свайный фундамент:
Свайный фундамент — это тип фундамента, в котором тонкий элемент из дерева, бетона или стали вставлен в землю для передачи нагрузки конструкции.Нагрузка передается на более прочный слой за счет трения или подшипника. Этот тип фундамента обычно используется в случае низкой несущей способности грунта или при наличии слоя слабого грунта на поверхности.
Прочтите – Когда использовать свайный фундамент
Классификация свайного фундамента:Классификация на основе функций:
Несущие сваи:
Несущие сваи забиваются в мягкий верхний грунт, а их основание упирается в жесткую конструкцию основания.
Концевые несущие сваи действуют как вертикальные колонны или опоры. Они создают среду для передачи структурной нагрузки через сваи на твердый нижний слой. Мягкий грунт также обеспечивает боковую поддержку сваям, увеличивая несущую способность грунта.
Висячие сваи:
Когда насыпной грунт находится на большой глубине и нет возможности опереть нижний конец сваи на твердое основание, нагрузка воспринимается за счет возникновения трения между окружающим грунтом и поверхностью сваи.Несущая способность висячих свай может быть увеличена за счет увеличения диаметра, группировки свай, забивки сваи на большую глубину и придания поверхности сваи шероховатости.
Шпунтовые сваи:
Эти типы свайных фундаментов используются в качестве подпорных стен. Шпунтовые сваи б/у
i) Для строительства подпорных стенок в доках или других морских сооружений.
ii) Для сохранения стенок котлованов фундамента.
iii) Для защиты берегов рек от эрозии.
iv) Для удержания грунта для увеличения его несущей способности.
v) Для изоляции фундаментов от окружающего грунта.
vi) Для защиты фундаментов от эрозии морем или рекой.
Анкерные сваи:
Эти типы свай обеспечивают анкеровку против горизонтальных натяжений и распоров.
Кучи теста:
Эти сваи забиваются под наклоном, чтобы лучше противостоять горизонтальным и наклонным силам.
Сваи крыла:
Эти виды свай изготавливаются из бревен и в основном защищают причальные суда от повреждений.Они также защищают бетонную палубу или береговые конструкции от ударов судов.
Сваи уплотнения:
Эти сваи забиваются в зернистый грунт для увеличения несущей способности слабого грунта.
Классификация по материалу:
- Сваи деревянные.
- Бетонные сваи.
- Стальные сваи.
- Сваи композитные.

- Песчаные кучи.
Коффердамы:
Коффердам — это временное сооружение, исключающее попадание воды на заданный участок и позволяющее вести строительство на сухой поверхности.
Классификация коффердамов на основе материала:
- Земляной перемычка.
- Перемычка из каменной наброски.
- Перемычка одностенная.
- Коффердам с двойными стенками.
- Кроватка-коффердам.
- Сотовый перемычка.
Кессон представляет собой водонепроницаемую конструкцию из дерева, стали или железобетона, которая выкапывается для фундамента мостов, опор и т. д.Этот тип фундамента в основном используется при строительстве опор мостов и других сооружений, требующих фундамента под водой.
Типы кессонов:- Открытый кессон.
- Ящик-кессон.
- Пневматический кессон.
Читайте также –
Типы основания моста
Как построить новый фундамент рядом со старой структурой
Присоединяйтесь к каналу Telegram – Civil Engineering Daily
Надеюсь, теперь у вас достаточно знаний о типах фундаментов.
Если у вас есть какие-либо вопросы, задайте их мне в комментариях.
Сохранить
Сохранить
Сохранить
Сохранить
Сохранить
Сохранить
Свайный фундамент Значение, применение, типы, пригодность, конструкция и схема
Что понимается под свайным фундаментом?
Свая представляет собой тонкий конструктивный элемент, площадь поперечного сечения которого очень мала по отношению к его длине. Это глубокий фундамент, где глубина больше, чем ширина. Он используется, когда мелкозаглубленный фундамент не может поддерживать конструкцию.
Использование свай (необходимость свайного фундамента)
- Передача нагрузки на прочные и или менее сжимающие слои.
- Передача нагрузок в слабом грунте за счет трения между сваей и грунтом.
- Компактный рыхлый гранулированный грунт.
- Обеспечьте фундамент и наклонные силы от устоя моста и подпорных стен.
- Перенос подъемной силы.

- Укрепите грунты под фундаментом машины, чтобы контролировать как амплитуду вибрации, так и собственную частоту системы.
Важно для Вас: Цементобетонные сваи |Сваи из монолитного бетона |Сваи из сборного железобетона
Типы свай:
- В зависимости от функции
(i) Несущие сваи
(ii) висячие сваи. (iii) комбинированные несущие и висячие сваи.
- На основе свайных материалов
- деревянные сваи (ii) бетонные сваи (iii) стальные сваи
(c) В зависимости от способа установки
- Сборная свая (ii) монолитная свая (iii) винтовая свая (IV) стальной профиль (v) буронабивные и монолитные сваи.
Сборные железобетонные сваи:
Сборные железобетонные сваи изготавливаются на заводе, а затем вбиваются в землю. Скважину выкапывают в земле, вставляя стальную оболочку.
Если оболочка остается на месте, она называется сваей. Если оболочка удалена, она называется безоболочечной сваей. Сборные железобетонные сваи могут быть коническими или параллельными. Они бывают разных форм, включая квадратные, восьмиугольные и круглые. Подробнее читайте здесь [Сваи сборные железобетонные]
Конструкция свай:
Расчет свай включает определение сечения, продольного армирования, поперечного армирования.
1.
Секция:Сборные железобетонные сваи могут быть круглыми, квадратными или восьмиугольными в сечении. Минимальный размер сборной сваи составляет 250 квадратных мм, а максимальный размер менее 600 мм.
В зависимости от длины свай можно принять следующие размеры поперечного сечения: –
- Длина до 10 м – 250 мм (квадрат)
- Длина от 10 до 12 м – 300 мм (квадрат)
- Длина от 12 до 15 м – 350 мм (квадрат)
- Длина от 15 до 18 м – 400 мм (квадрат) )
- Более 18 м – 450 мм (квадрат)
2.
Продольная арматура: В соответствии с IRC 78, площадь продольной арматуры не должна быть меньше следующего условия:-
(i) Для свай длиной менее 30 наименьшей поперечной ширины = 1,25%
(ii) Для свай, длина которых в 30–40 раз превышает наименьшую ширину = 1,50%
(iii) Для свай, длина которых более чем в 40 раз превышает наименьшую ширину = 2%
(c) Боковое усиление:
- Они дополняют устойчивость к нагрузкам при вождении, поэтому имеют большое значение.Они должны быть в виде петель, спиралей или звеньев.
- Минимальный диаметр должен быть не менее 6 мм.
- На расстоянии около 3-х связей наименьшей ширины или диаметра от каждого конца сваи объем боковой арматуры должен быть не менее 0,6 % от общего объема.
- В теле сваи боковая арматура не должна составлять 0,2 % от общего объема.
1. Концевая несущая свая: Используется для передачи нагрузки через воду или мягкую почву на подходящий несущий слой)
2.
Висячая свая: используется для передачи нагрузки через периметр фрикционного грунта
3. Уплотнительная свая: используется для уплотнения рыхлого гранулированного грунта и, таким образом, увеличения несущей способности сваи
.4. Натяжная свая: для защиты конструкции от подъемного давления
5. Анкерная свая: для крепления к горизонтальному бассейну
6. Кормушка или свая типа «дельфин»: используется для защиты конструкции в воде от ударов кораблей или других плавучих объектов
7.Улучшенная свая: эта свая используется для сопротивления наклонной силе
Ex:- Simplex, Franki, Vibru, Mc-Arthurs, сборный железобетон, шпунт.
При следующих обстоятельствах используются свайные фундаменты:
(a) Когда твердый грунт встречается на большой глубине и обеспечение экономичного настила фундамента.
(б) Когда обеспечение ростверка и ростверка обходится дорого.
(c) Когда на фундамент должны восприниматься сосредоточенные тяжелые нагрузки.
(d) Когда глубина размыва русла реки очень велика.
(e) Когда верхний слой почвы сжимаем.
Пригодность свайного фундамента- Ростверковый и плотный фундамент невозможен
- Перенос большой временной и статической нагрузки
- Сезонные колебания уровня грунтовых вод
- В морской конструкции
ВЫБОР ТИПА СВАЙ
На выбор типа свай влияют следующие факторы:
(а) Обработка
(b) Требуемая длина сваи
(c) Наличие строительных материалов
(d) Глубина грунтовых вод
(e) Доступное время
(f) Возможность повреждения сваи во время забивки.
(г) Сопротивление сваи жесткому слою во время забивки.
Рис.2. Фонд Пьера Пайла(h) Наличие кислот, солей и т. д. в почвенной воде, которые могут повлиять на материал сваи.
(i) Должна ли свая быть поднята под водой или над водой и т.
д.
Рис.2. показана опора, построенная на группе свай или опор свайного фундамента.
Важно для вас: Кессонный фундамент: конструкция, типы, схема, преимущества и применение
ЗАБОР СВАЕВ
Для забивки сваи на необходимую глубину необходимо следующее оборудование.
1. Свайная рама
2. Провода
3. Свайный молот
4. Лебедки и т.п.
- Свайный каркас.
Представляет собой стальную конструкцию высотой от 10 м до 25 м. Внизу у него есть платформа для поддержки двигателей и инструментов, необходимых для забивки сваи, и место для стояния машиниста и т. Д. Промежуточные площадки обеспечивают место для рабочих, чтобы стоять во время забивки сваи.
Это инструмент, который наносит удары по верхушкам свай для забивания их в землю.
Молоток может быть следующих типов:
( a) Отбойные молотки
(b) Паровые молоты одностороннего действия
(с) Паровые молоты двойного действия
(г) Дизель-молоты
(e) Паровые молоты дифференциального действия
(е) Вибраторы
Это простые гири весом от 1,0 до 40 тонн.
Они поднимаются вручную и падают с высоты от 15 до 6 м.0 м непосредственно на сваю, которая вбивает сваю в грунт.
- Паровые молоты одностороннего действия.
Эти молоты поднимаются с помощью пара или сжатого воздуха и падают на вершину сваи под действием силы тяжести. Такие молотки могут давать до 60 ударов в минуту.
- Паровые молоты двойного действия.
В этих молотах подъем и опускание осуществляется с помощью пара или сжатого воздуха.Вес молота около 500 кг. но из-за падения под действием пара и силы тяжести эффективный вес молота получается около 3000 кг. Эти молотки дают от 100 до 200 ударов в минуту. В настоящее время такие молотки используются чаще всего.
Это небольшой, легкий, автономный и самодействующий молот. Для работы требуется небольшой дизельный двигатель. Они мобильны и их можно легко переносить из одного места в другое.
- Паровые молоты дифференциального действия.
Молот этого типа обладает преимуществами паровых молотов как одностороннего, так и двустороннего действия. Обладает высотой падения и весом одиночного молота и количеством ударов, что I молоток двойного действия
(f) Вибромолот.
Эти молоты производят сильные вибрации, которые передаются на молоты, используемые для забивания шпунтовых свай. Они забивают более 40 м шпунта в минуту.
3.Поводки: Используются для направления молота и свай во время забивки.
4. Лебедки: Используются для подъема и опускания свай и т. д.
НЕСУЩАЯ МОЩНОСТЬ СВАЙ
Несущая способность сваи — это статическая продольная нагрузка, которую можно безопасно выдержать. Его можно определить следующим образом:
1. По формуле динамического забивания свай:
3. По фактической загрузке
2. По статической формуле
1.
По динамической формуле
(a) Формула Engineering News
R= (16,65 Вт)/(S+ 0,254 П/Вт)
(ii) Формула Engineering News для парового молота.
R= (16,65 Вт·ч)/(S+2,54)
Интересно для Вас: Фундамент колодца: значение, преимущества, типы, компоненты и схема
(iii) Формула Engineering News для ударного молота.
Р= (16.65 Вт)/ (S+2,54)
Где,
R= Допустимая безопасная нагрузка на сваю в кг. или (тонн)
W=Вес ударной части молотка в кг
H= Высота падения молота в метрах
P= Вес забитой сваи в кг или тоннах
S = проникновение ворса на дно в см (обычно среднее значение последних пяти ударов).
2. Статическая формула
R = Af + ап.
A= Площадь поверхности сваи в м²
f= сопротивление трению грунта на поверхности сваи в кг/м²
a= Площадь поперечного сечения свай внизу в м²
p= Несущая способность грунта на конце (нижней части) сваи в кг/м²
R = Допустимая допустимая нагрузка на сваю в кг.
Вам также понравится:
- Цементобетонные сваи |Монолитные бетонные сваи |Сборные бетонные сваи
- Фундамент колодца: значение, преимущества, типы, компоненты и схема
- Кессонный фундамент: конструкция, типы, схема, преимущества и использование
- Типы фундамента , фундаменты для строительства зданий и их использования
- Функциональные требования к зданию| Компоненты строительной конструкции и детали
- Методы основания, процедуры, использование при укреплении и ремонте фундамента
- Типы каменной кладки: каменная кладка, бутовая кладка
- Цементобетонная дорога (тротуар): стоимость, слои и конструкция
- Грязь домкрат: смысл, процесс, основа, стоимость | Polyjacking vs Mudjacking бетон
(посетили 202 раза, 3 посещения сегодня)
Продолжить чтение
Что такое грильяжи? | Стальные фундаменты
18 мая 2017 г. 10:36Ростверки — это гибкое и экологически чистое решение для фундамента.Они используются, когда группы свай необходимы в качестве альтернативы бетону, и часто используются в основании колонны, когда требуется передать тяжелые структурные нагрузки на грунт с низкой несущей способностью. Ростверки особенно хорошо работают, если земля мягкая или влажная, и их невероятно быстро установить.
Стальные решетки, предлагаемые компанией ScrewFast, изготавливаются из катаных стальных балок и представляют собой экономичный, экономичный и быстрый метод соединения групп свай к надстройке.Их можно использовать с любым из наших свайных решений, и они предназначены для поддержки любой конструкции.
Ростверки намного удобнее, чем бетонные, потому что они не только значительно сокращают время сборки, но и более экологичны и могут быть переработаны. Более того, здания и земля, окружающие проект, с меньшей вероятностью будут разрушены, поскольку нет необходимости в глубоких земляных работах, которые требуются при использовании бетона.
В ScrewFast вы можете выбрать из множества стандартных типов ростверков, которые очень универсальны и поэтому могут быть адаптированы к требованиям вашего проекта.Доступные типы ростверков:
- Крестообразные
- Y-образные
- T-образные
- 6-, 8- и 10-свайные ростверки
Y-образные и T-образные ростверки можно установить менее чем за два часа обычно используются для поддержки камер видеонаблюдения, сигнальных столбов и осветительных столбов. В результате меньшего количества необходимых строительных материалов, более быстрого монтажа и ограниченного перерыва в транспортировке при использовании ростверков достигается значительная экономия средств.
Если ни один из этих типов ростверков не подходит для вашего проекта, вы можете заказать изготовление ростверков в соответствии с вашими конкретными потребностями.Они будут гибким, эффективным и устойчивым решением. Если у вас есть какие-либо вопросы о применении стальных ростверков или любых других наших услугах, пожалуйста, не стесняйтесь обращаться к нам.

Ленточный фундамент формируется по периметру постройки, что обеспечивает надежность несущих стен.
Такие прутья могут быть использованы в местах каркаса, где не предвидится сильных нагрузок, а также для создания основы конструкции.
Шаг укладки составляет от 10 до 15 см, в зависимости от типа постройки. Помимо стандартных вертикальных и горизонтальных элементов, в конструкции такого каркаса для дополнительно усиления присутствуют также уложенные крест-накрест прутья, предназначенные для того, чтобы максимально упрочнить армирование ростверка свайного фундамента.










В этом случае используются гладкие стальные пруты класса A-II с диаметром сечения от 8 до 10 мм. Композитная арматура не подлежит гибке, поэтому не подходит для изготовления хомутов. Схема такой конструкции представлена ниже:



Пространство между стальными балками и вокруг них заполняется цементным раствором.





